On December 10, 2008, the Tokyo District Court ruled that the patent at issue, JP 3725481 B (‘481), was not infringed either literally or under the doctrine of equivalents.
The ‘481 patent at issue is directed to a golf club head made by assembling two shell members of different materials, i.e., metal and plastic outer shells. This type of club head has a problem that a sufficient connecting strength is unlikely to be obtained simply by overlapping the connecting portions of the metal and plastic shells and bonding them using adhesive. To overcome this problem, the invention of ‘481 patent employs a fiber-reinforced plastic (FRP) stitching material for the connection between the plastic and metal shells.
Independent claim 1, the asserted claim 1 in this suit, reads as follows:
A hollow golf club head having a hollow head body made by connecting a metal outer shell (11) and a fiber-reinforced plastic outer shell (21), characterized in that
a connecting portion of the metal shell (11) is bonded to a connecting portion of the fiber-reinforced outer shell (21);
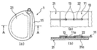
*1) through-holes (13) are formed at the connecting portion of the metal outer shell (11); and
the fiber-reinforced plastic outer shell (21) and the metal outer shell (11) are connected with each other by extending *2) a fiber-reinforced plastic stitching material (22) between a bonding boundary surface side of the metal shell with the fiber-reinforced plastic outer shell (21) and an opposite side of the metal shell through the *1) through-holes (13) to connect the fiber-reinforced plastic outer shell (21) and the metal outer shell (11). (Reference numerals added)
*1), *2) The English translation of claim 1 indicates that the connecting portion of the metal outer shell (11) is formed with “a plurality of through-holes” (13) and two shells (11,21) are connected by a “single” stitching material. However, it is indefinite from the original Japanese claim languages whether the connecting portion of the metal outer shell (11) has “a single or a plurality of” through-holes (13) and the shells are connected by “a single or a plurality of” stitching materials. This is because the Japanese language has no discrimination between singular and plural forms. Therefore, those portions are translated in plural and singular forms, respectively, in light of the disclosures of the specification.
The claim simply says that the FRP stitching material is extended between the opposite surface sides of the metal shell through the through-holes. In fact, according to the embodiment, a single FRP stitching material is extended alternately, via through-holes, between the upper and lower surfaces of the metal shell, as indicated below.

The court emphasized the dictionary meaning of the term “stitching” and determined, by consulting the most authoritative Japanese dictionary Kojien and considering the consistency of the problem to be solved by the invention with the structures described in the claim, that “stitching” is used in the specification in its common and ordinary meaning and should be construed that it extends continuously in a staggered fashion between opposite surfaces of the metal shell.
The accused product employs, on the other hand, employs “a plurality of short strips” each extending between the upper and lower surfaces of the metal shell, as indicated below.

Accordingly, the court concluded that claim 1 was not infringed literally. Also, the court determined that the “stitching material” was the essential portion of the invention and therefore claim 1 was not infringed under the doctrine of equivalents.