On October 19, 2011, the Tokyo district court ruled that the accused product falls within the technical scope of the invention and therefore literally infringes the patent.
The invention at issue related to a cuffed medico-surgical tube with an inflatable cuff which is adapted to seal between the tube and the wall of trachea. The specification describes that “such cuffed tubes can present a problem in that secretions produced above the cuff in the trachea, or other body channel in which the tube is located, will be prevented from flowing along the channel and will thereby collect above the cuff, providing a site for the accumulation of bacteria and infection. Various proposals have been made previously for removing such secretions by providing a suction aperture above the cuff. … The problem with both of these tubes is that it is not possible to remove secretions that collect immediately above the cuff. This is because the cuff is conventionally attached to the wall of the tube by means of short collars at opposite ends of the cuff, which are adhered to the tube and extend above and below the cuff. “
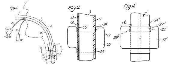
To overcome the problem, the medico-surgical tube according to the invention of JP 3241770 B is featured in that the tube (1) has a suction aperture (19) opening from the lumen to the exterior of the tube immediately adjacent the proximal end of the cuff (12) and the proximal end of the cuff (12) is folded back so that a part at least of the inflatable portion (25) of the cuff (12) overlies the proximal collar portion (24) so that the proximal collar portion (24) does not extend beyond the inflatable portion (25) of the cuff (12), as best shown in the following Figs. 2 and 3. (Emphasis added)

Contrary to this, according to the accused product of Covidien, a distance from the lowermost end of the suction aperture to the uppermost end of the upper collar bonded to the tube is 3.6 mm to 4.2 mm and a distance from the lowermost end of the suction aperture to the uppermost end of the inflated cuff is 2.7 mm to 3.9 mm. Covidien argued that it is evident that the accused product is not the one in which nothing (i.e., no space) exists between the proximal end of the cuff and the suction aperture and they are in direct contact with each other and, in fact, according to the simulation test, it was found that some liquid representing secretions were not removed through the suction aperture and remained on the cuff.
In this regard, the court stated that (i) the “immediately adjacent” means that a separation between the suction aperture and the upper end of the cuff, caused by the existence of the collar, is prohibited, i.e., it is avoided that the suction aperture being spacedly adjacent leaving the collar; (ii) when looking at Fig. 2 in detail, the proximal end of the cuff (12) and the suction aperture (19) are adjacent to each other without any existence of the collar (24) but a distance between the proximal end and the suction aperture is not zero, i.e., there exists a gap between them, and (iii) the specification says “It can be seen that this enables the suction aperture 19 to be located immediately adjacent the inflatable portion 25 of the cuff 12 so that any secretions from the upper part of the trachea which collect above the cuff can be removed by suction through the aperture 19 with very little secretions, if any, remaining above the cuff”.
In conclusion, the court said that “immediately adjacent” should be construed that it means that the proximal end of the cuff and the suction aperture are adjacent to each other without the existence of the proximal collar between them so that the residues on the cuff can be sufficiently sucked and removed and the accused product satisfies this limitation because, even if a certain distance exists between the proximal end of the cuff and the suction aperture, they are adjacent to each other while leaving a suitable distance that allows the secretions to be fully sucked and removed from above the cuff.