IP Court Case Summary:H22 (gyoke) 10351:
On September 28, 2011, the Intellectual Property High Court (IP High Court) reversed JPO board of appeal’s decision that rejected the demand for trial because inventive step can’t be denied. The appellant applied for the patent of “Neutralization of bad smell and a waste bag with liquid absorbency”. The claim is as follows;
A container for the disposal of food wastes characterized by:
(a) liquid impervious walls defining an opening for receiving the food wastes, the walls having an inner and outer surface;
(b) an absorbent material positioned adjacent the inner surface of the liquid impervious walls and having an effective amount of an odor-neutralizing compound deposited thereon; and
(c) a liquid pervious liner positioned adjacent the absorbent material.

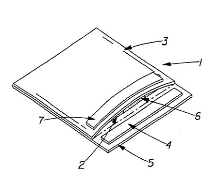
[Invention at issue]
1: flexible plastic sheet, 2: absorbent material, 3: border of the sheet along its lateral edges, 4: sealing means, 5: closure flap, 6: opening, 7: contact surface
JPO board of appeal decided that this invention lacks the inventive step because it is easily created based on the invention in the citation-1 and well known technology. Citation-1 described the element (a) and (b), but not (c). However, element (c) is well known technology.
IP High Court mentioned that the citation-1 does not mention “problem to be solved” or “suggestion” for the element (c). Moreover, the element (c) can cause some other problems, which are easily understood by the persons skilled in the arts.
Therefore, IP High Court mentioned that when the citation does not mention “problem to be solved” or “suggestion” for the difference between the claimed invention and the citation, it should be avoided to choose the well known technology.
As a conclusion, it was determined that the JPO board of appeal’s decision that rejected the demand for trial is illegal.