On May 24, 2012, the Osaka District Court issued an interesting decision which is directed to a scope of protection of a “partial” design right conferred by partial design application introduced by 2010 Amendment of the Japanese Design Law.
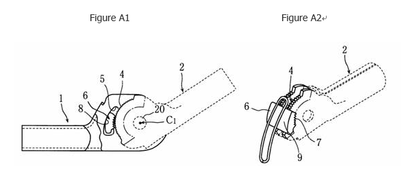
At issue was a partial design of an angular adjustment tool, generally indicated at 2 in the following Figures A1 and A2.

The registered partial design right No.1399739 relates to a design of a front head portion of the angular adjustment tool. As shown in Figure A3, the characteristic design portion, which is indicated by solid lines, relates to a gear plate, in particular, which comprises an external gear with teeth, slanted portions and elevated portions, the slanted and elevated portions being provided adjacent opposite ends of the gear. Portions indicated by dotted lines and imaginary lines are outside the scope of the partial design.
Figure A3
The accused infringer was manufacturing, using and selling three different angular adjustment tools, as shown in Figures B1, B2 and B3.
ACCUSED DEVICE 1
The design of the head portion of the accused device 1, indicated in Figure 1, is substantially the same as that of the registered design.
Figure B1

ACCUSED DEVICE 2
The design of the head portion of the accused device 2, indicated in Figure B2, is somewhat different from the registered design in that the elevated portions are in part removed to define projections as shown in Figure B2′. Interestingly, the court said that the red-colored removed portions are outside the region of the registered partial design right and do not have to be used in the determination of similarity between the registered partial design and the design of accused device.

ACCUSED DEVICE 3
The design of the head portion of the accused device 3, indicated in Figure B3, is also somewhat different from the registered design in that the projections are further in part removed as indicated in red in Figure B3′. The court said that (i) the U-shaped recesses result in an unique impression, (ii) the projections adjacent the opposite ends of the gear are noticeable portions in the registered partial design and therefore removals or recesses of the projection, even if they occupy small parts of the projections, provides a different visual effect beyond commonality between the registered and accused design.

In conclusion, the court decided that the accused devices 1 and 2 infringe the partial design right but the accused device 3 does not.
The decision is summarized in the following table:
| Registered Partial Design |
![]() |
|
|---|---|---|
| Accused Device 1 | ![]() |
Infringement |
| Accused Device 2 | ![]() |
Infringement |
| Accused Device 3 | ![]() |
Non-Infringement |