Intellectual Property High Court (IPHC) expresses its interpretation of the Japanese Patent Act Article 102, first paragraph, which sets forth “Presumption of the amount of damages.” Article 102 was revised in 2020, and this lawsuit relates to the interpretation of the old Article 1021 prior to the revision.
1. Background
Plaintiff, having two Japanese Patent Nos. 5356625 and 5847904 entitled “Beauty Instrument” (hereinafter referred to as “Patent 1” and “Patent 2”, respectively), filed a lawsuit before the Osaka district court, arguing that defendant’s manufacturing and selling products infringed Patents 1 and 2 and demanded an injunction and compensation for damages.
The Osaka District Court decided in its decision 2016 (Wa) 5345) that the defendant’s manufacturing and selling products infringed the Patent 2, and granted the injunction and partially the compensation for damages.
Both parties appealed to the IPHC against the district’s decision.
2. Patented Inventions at issue
The representative claims 1 of Patents 1 and 2 (hereinafter referred to as “Invention 1” and “Invention 2”) read as follows:
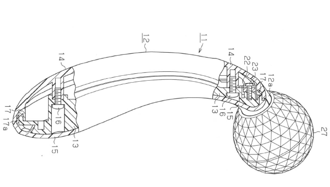
<Invention 1>
A beauty instrument, which comprises a handle and a pair of balls mounted at a distal end of the handle, wherein the balls are spaced away from each other and supported by the handle for rotation about respective axes, characterized in that
the axes of the balls are bent forward with respect to a centerline of the handle such that the axes maintain a certain angle relative to a skin during reciprocating rotations of the ball;
an opening angle of the axes of the balls ranges is 65-80 degrees;
a distance between outer periphery surfaces of the balls is 10-13 mm; and
each ball is supported by a ball supporting shaft through a bearing member such that a distal end of the ball supporting shaft does not project from the ball;
whereby keeping the peripheral surfaces of the balls in forced contact with the skin and moving the beauty instrument in a proximal direction causes the skin to be picked up by the contact with the balls.
[Fig.1] [Fig. 2]
< Invention 2>
<Claim 1>
A beauty instrument, comprising a handle, a support shaft having a distal end and a proximal end securely retained by the handle, and a rotation member rotatably supported by the distal end of the support shaft, so that the beauty instruments applies a beauty action to a human body through the rotation member; characterized in that:
the rotation member has a hole only on the proximal end;
the rotation member is supported by the supporting shaft through a bearing member such that a distal end of the supporting shaft stays inside the rotation member and does not project from the rotation;
the bearing member is securely retained by the support shaft at one end of the bearing member away from the hole of the rotation member;
an elastically deformable engagement nail is projected from the bearing member;
the bearing member has a flange provided on a proximal side of the engagement nail;
the engagement nail has a slope that extends in a manner that a distance between the engagement nail and a rotation center of a rotating body in the bearing member decreases distally;
an inner surface of the rotating body has a step capable of being engaged with the engagement nail; and
the step is engaged with the proximal side of the engagement nail and positioned between the engagement nail and the flange.
[Fig.1] [Fig.2]

3. Question in dispute
Although damages, patent infringement, and validity of patents were discussed at the court, the following description focuses on the damages only.
4. IPHC en banc decision
The IPHC delivered its interpretation of the several terms in Article 102, first paragraph as follows:
a. “Articles which would have been sold by the patentee if there had been no such act of infringement”
“Articles which would have been sold by the patentee if there had been no such act of infringement” should be interpreted as “the patentee’s products affected on the sales quantity by the infringement act, or the patentee’s products competing in market with the infringement products.”
b. “The amount of profit per unit”
“The amount of profit per unit number” should be interpreted as “the amount less expenses that additionally would become necessary directly in relation to the manufacturing and selling of the products from the revenue of the patentee’s products (the amount of the marginal income)”.
c. “The amount attainable by the patentee in light of the capability of the patentee to work such articles”
“The capability of the patentee to work such articles” (Japanese Patent Act Article 102-1) should be interpreted as “the potential capability”, which can be applied to the case where the amount of products corresponding to the sales quantity of the infringement products can be supplied by, for example, outsourcing.
d. “Circumstances existing under which the patentee would have been unable to sell the assigned quantity”
“Circumstances existing under which the patentee would have been unable to sell the assigned quantity” should be interpreted as “circumstances denying the rational relationship between the infringement and the decrease in number of the patentee’s sales products”, including (1) difference in business configurations or product prices of the patentee and the infringer (market competition), (2) existence of competitive products in the market, (3) sales efforts of the infringer (brand strength and advertisement of the infringer), and (4) difference in performance of products produced by the patentee and the infringer (non-patented features such as function and design).
The IPHC also found that “although the defendant argues that the damages should be reduced in consideration of how much the Patent 2 has contributed to the sales of the infringement products, there is no rule or rationale in favor of such argument.” Then, the IPHC rejected any reduction in damages in consideration of such contributions.
5. Comments
a. Interpretation of “Articles which would have been sold by the patentee if there had been no such act of infringement”
There are two judicial theories in the interpretation of the term “Articles which would have been sold by the patentee if there had been no such act of infringement” -“the patented product theory” and “the competitive product theory.” “The patented product theory” is a doctrine that the patentee’s products on sale should be patented products, while “the competitive product theory” is a doctrine that the patentee’s products are sufficient to be competitive to the infringement products. The IPHC decision seems to be based on or substantially on “the competitive product theory.”
b. “The amount of profit per unit”
There are two judicial theories in the interpretation of the term “the amount of profit per unit” – “the marginal income theory” and “the net income theory.” “The marginal income theory” is a doctrine that “the amount of profit per unit” is regarded as “the amount less only a change expense from sales”, which does not subtract the R&D expenses or the administrative expenses needed in making the patented invention. “The net income theory” is the doctrine that “the amount of profit per unit” is calculated by subtracting the R&D expenses or the capital investments from marginal income. The IPHC decision seems to be in line with “the marginal income theory”, which matches with recent court decisions.
c. “The amount attainable by the patentee in light of the capability of the patentee to work such articles”
There are two judicial theories in the interpretation of the term “the capability of the patentee to work such articles” – “the existing ability theory” and “the potential ability theory.” “The existing ability theory” is that the “ability” must be the existing ability, while “the potential ability theory” is that the “ability” can be potential. The IPHC decision is based on “the potential ability theory”, which matches with recent decisions.
d. “Circumstances existing under which the patentee would have been unable to sell the assigned quantity”
The IPHC showed its interpretation of “circumstances” and exemplified four examples, which are expected to be useful in the future practices.
e. Future Developments
The IPHC clarified its interpretations of the terms in Article 102, first paragraph, which undoubtedly increases the predictability of damages. Practically, the compensation for damages should be determined in light of this decision. An accumulation of court decisions is also expected to enhance the predictability of the interpretation of Article 102, first paragraph.
The Japanese Patent Act Article 102 was revised, and the revision became effective on April 1, 2020.
IP High Court HP: English translation of IP High Court judgment : 2019 (Ne) 10003
1 Japanese Patent Act (prior to the 2020 revision)
Article 102
(1) Where a patentee or an exclusive licensee claims against an infringer compensation for damage sustained as a result of the intentional or negligent infringement of the patent right or exclusive license, and the infringer assigned articles that composed the act of infringement, the amount of damage sustained by the patentee or the exclusive licensee may be presumed to be the amount of profit per unit of articles which would have been sold by the patentee or the exclusive licensee if there had been no such act of infringement, multiplied by the quantity (hereinafter referred to in this paragraph as the “assigned quantity”) of articles assigned by the infringer, the maximum of which shall be the amount attainable by the patentee or the exclusive licensee in light of the capability of the patentee or the exclusive licensee to work such articles; provided, however, that if any circumstances exist under which the patentee or the exclusive licensee would have been unable to sell the assigned quantity in whole or in part, the amount calculated as the number of articles not able to be sold due to such circumstances shall be deducted.