2010年9月1日付の官報で、USPTOは、自明性に関する審査ガイドラインの改定版を公表した。
同官報によると、その趣旨は、審査官に、KSR最高裁判決で示された自明性の原則の再認識を促すこと、さらには、KSR最高裁判決以降のCAFC判決(24の判決)を考慮して指針を追加することのようである。先に公表された2007年10月10日付の自明性に関する審査ガイドラインと併せることにより、自明性と非自明性の境界をより明確にすることが意図されていると言える。
KSR最高裁判決の約半年後に公表された先の審査ガイドライン(2007年10月10日付ガイドライン)に比較し、2010年9月1日付官報で公表されたガイドラインで示された自明性の判断基準に大きな変化は認められない。常識を自明性の拠り所とできること、obvious-to-try(自明な試み)が単独で自明性の根拠となり得ること等、一度審査官に認定されれば反論が比較的に困難と予想される判断基準は変わらず存在する。しかしながら、2010年9月1日付官報で公表されたガイドラインでは、出願人に多少のヒントを提供しているように思える。例えば、obvious-to-tryに関して、In re Kubin及びBayer Schering Pharma A.G. v. Barr Labs., Inc.の両事件では、In re O’Farrell(853 F.2d 894 (Fed. Cir. 1995))を引用して、obvious-to-tryによって自明とされない2つの基準が示されている。これらは、KSR最高裁判決のobvious-to-tryの射程範囲を限定しているものと言える。また、In re ICON Health & Fitness, Inc.では、引用文献の組み合わせを否定する阻害理由について、当業者が引用文献を見た場合に、その方法を行うことを思い留まるか、発明とは異なる方向に進むような場合、あるいは発明が実行できない場合に、阻害理由となる、と示されている。このような示唆は従前の判決にもあったものかもしれないが(In re Gurley, 27 F.3d 551 (Fed. Cir. 1994)参照)、自明性の拒絶理由を解消するための有効な手段としての阻害理由の主張にヒントを与えるものと考えられる。
この度、2010年9月1日付官報で公表されたガイドラインで示された24の判決につき、具体的に調査検討した。自明性は個々の事実を勘案して判断されることから、判決の射程範囲を認識する上で、具体的な事案の検討が必要であると考えたからである。官報と併せて考慮することで、自明性の外縁のより良い理解及び拒絶理由の応答に対する有効な手段の探索に一助となれば幸甚である。
なお、判例の検討は有志によるもので、ダブルチェックは行っていない。したがって、多少の誤りがあるかもしれないことを予めご理解いただきたい。
In re Omeprazole Patent Litigation
(CAFC, August 20, 2008)
1. 判決のポイント
クレームされた生成物を生成するために適用可能な一般的な方法が公知であり、当業者の技術水準の範囲内であった場合でも、当該方法を用いることを示唆する課題が公知でなかった場合、クレームの非自明性が認められる場合がある。
2. 背景
・特許権者:Astrazeneca AB等 (以下、Astra)
・被疑侵害者:Apotex Corp等 (以下、Apotex)
・対象特許:US 4,786,505 (以下、505特許)、US 4,853,230 (以下、230特許)
(a)オメプラゾールを含むコアと、(b)サブコーティングと、(c)腸溶性コーティングを含む医薬製剤
505特許クレーム1
(a)オメプラゾールとアルカリ反応性化合物、オメプラゾールのアルカリ塩とアルカリ反応性化合物、およびオメプラゾールのアルカリ塩単独からなる群から選択される有効量の物質を含むコア領域;
(b)前記コア領域上に配置された水溶性または水に迅速に分解する不活性サブコーティング、ここで前記サブコーティングは錠剤の賦形剤および重合体のフィルム形成化合物から選択される一以上の層を含み;そして
(c)前記サブコーティング上に配置された腸溶性コーティングを含む外層
を含む経口医薬製剤。
230特許クレーム1
(a)酸不安定性医薬的活性物質および前記活性物質とは異なるアルカリ反応性化合物、酸不安定性医薬的活性物質のアルカリ塩、または酸不安定性医薬的活性物質のアルカリ塩および前記活性物質とは異なるアルカリ反応性化合物を含むアルカリ反応性コア;
(b)前記コア領域上に配置された水溶性または水に迅速に分解する不活性サブコーティング、ここで前記サブコーティングは錠剤の賦形剤、フィルム形成化合物およびアルカリ化合物から選択される一以上の層を含み;および
(c)前記サブコーティング層を取り囲む腸溶性コーティング層、ここで前記サブコーティング層は、製剤の安定性が向上するように、前記アルカリ反応性コアを前記腸溶性コーティング層から分離させている、
を含む医薬製剤。
発明の課題
オメプラゾールは、酸に対して不安定な物質である。従来の腸溶性コーティングは酸性化合物から構成されているため、従来の腸溶性コーティングでオメプラゾールを直接被覆した場合、オメプラゾールが腸溶性コーティングと接触して分解する(オメプラゾールと腸溶性コーティングとの間の負の相互作用)。
・引用文献
1)EP 124,495 (以下、495文献)
(a)オメプラゾールのマグネシウム塩を含有し、(b)酢酸セルロースフタレートの腸溶性コーティングを有する錠剤(実施例12)
相違点
・サブコーティングを含む錠剤を開示していない。
・オメプラゾールと腸溶性コーティングとの間の負の相互作用を開示も示唆もしていない。
2)その他の引用文献(US 2,991,226)等
(a)種々の薬剤を含むコアと、(b)サブコーティングと、(c)腸溶性コーティングを含む医薬製剤
相違点
・オメプラゾールを開示していない。
・地裁判決:Astraの505特許および230特許は引用文献から自明ではない。
3. CAFCの判断
・結論:地裁の判断に誤りはなく、Astraの505特許および230特許は引用文献から自明ではない。
・根拠
495文献は、薬剤(オメプラゾール)のコアと腸溶性コーティングとの間の負の相互作用を開示も示唆もしていない。Apotexは、多くの他の引用文献に記載の種々の医薬製剤において、サブコーティングを使用することが開示されているから、495文献の実施例12に記載の錠剤にサブコーティングを適用することは容易であると主張するが、495文献の実施例12に記載の製剤においてサブコーティングが必要であることを当業者が理解し得ることの根拠を示していない。従って、当業者が495文献の実施例12に記載の錠剤にサブコーティングを適用する理由は存在しない。
そして、当業者が薬剤コアと腸溶性コーティングとの間の負の相互作用を認識できたとしても、当該課題の解決手段として、当業者がサブコーティングの適用を試みることは自明でない。腸溶性コーティングを薬剤コアに直接適用したことによる薬剤の安定性の問題を認識した当業者において、例えば、腸溶性コーティングの回避、代替品の使用、腸溶性コーティングの材料の変更、薬剤コア中への抗酸化剤の添加など、当該問題を解決するための他の多くの選択肢が存在するからである。
従って、Astraの505特許および230特許は引用文献から自明ではない。
以上
Crocs, Inc. v. U.S. International Trade Commission
(CAFC, February 24, 2010)
1. 判決のポイント
先行技術がクレームされた組み合わせを阻害するとともに、当該組み合わせが予測できない効果を奏する場合は、先行技術要素の組み合わせをクレームしたに過ぎないものでも非自明である。
2. 背景
・特許権者:Crocs社
・被控訴人:米国国際貿易委員会(以下、ITC)
・対象特許:US 6,993,858
アッパーとソールとをワンピース成型で構成した基部と、ストラップ部とを備えた履物に関する発明で、基部及びストラップ部が発泡材であることを特徴とする。
クレーム:成型用発泡材からなる単一パーツのアッパー及びソールを有する基部と、
成型用発泡材からなり、基部と接触するように両端部が基部に連結され、かつ、基部に対しコネクタ部を介して回動するストラップ部とを備え、
アッパーは、開口縁部によって規定された後方開口領域を有し、プラスチック製のコネクタ部を介してストラップ部と基部とが接触して、ストラップ部を回動後の位置に適切に保持するのに十分な摩擦力を生むことで、ストラップ部が後方開口領域に挿入された人の足のアキレス腱部分を支持し、かつ、
アッパーは、人の足の形に対応するつま先領域を形成する水平部と垂直部とを有し、つま先領域は、大きめの足指が位置する内側領域から小さめの足指が位置する外側領域に向かうに従って狭小となる、履物。

・先行技術1
・本件特許と同様の基部のみからなるサンダル(製品名:”Aqua clog”)。
・先行技術2
・US 6,237,249 であり、弾性材で構成されたストラップ部を備えた履物が開示されている。

・相違点
・先行技術1には、アキレス腱支持用のストラップ部が存在しない点で本件特許と相異する。
・本件特許のストラップ部の材質は発泡材であるが、先行技術2のストラップ部の材質はゴム等の弾性材である。
・ITCの判断:先行技術1と先行技術2のストラップ部を組み合わせることで、本件特許は自明であると判断した。
3. CAFCの判断
・結論:ITCの決定を取り消し、本件特許は非自明であるとした。
・根拠
発泡材ストラップ部は、伸びやすくて変形しやすいという特性があり、先行技術では、発泡材ストラップ部の使用を阻害していた。先行技術2のストラップ部は、使用者の足と常に接触し続ける。これ対して、本件特許のストラップ部は、足が通常位置にある時にだけ使用者の足と接触するので、先行技術2に比べて履き心地に優れる。また、先行技術2では、基部とストラップ部との間で摩擦が生じることは問題であると指摘されていた。
したがって、上記2つの先行技術には、クレーム発明の構成要件の全てが開示されているが、クレームに記載された組み合わせは予期できない結果を生むものと判断した。
以上
Sundance, Inc. v. DeMonte Fabricating Ltd.
(CAFC, December 24, 2008)
1. 判決のポイント
引用文献に開示された先行技術要素を組み合わせた後のそれぞれの先行技術要素の特性・機能が、組み合わせる前の状態を維持していると合理的に予期できる場合には、自明であると判断される。
“A claimed invention is likely to be obvious if it is a combination of known prior art elements that would reasonably have been expected to maintain their respective properties of functions after they have been combined.”
2. 背景
・特許権者: Sundance社(他1社)
・被疑侵害者: DeMonte Fabricating社(他1社)
・対象特許: USP 5,026,109(以下、109特許)
貨物トレーラに用いられる格納式のセグメント化されたカバーシステムに関する発明であり、セグメント化された個々のカバー部が他のカバー部とは独立してカバーシステムから取り外し可能であることを特徴とする。
クレーム1:
①貨物トレーラに使用される格納可能なセグメント化されたカバーシステムであって、
②互いに間隔を開けて実質的に平行に配置された複数の弓状支持部を有する複数のフレキシブルカバー部と、
③駆動装置とを備え、
④それぞれのカバー部は、実質的に平行に配置された弓状支持部の間に着脱可能に接続され、
⑤弓状支持部は貨物トレーラにスライド可能に支持され、
⑥カバーシステムが駆動装置により延伸可能または格納可能なように、少なくとも1つの弓状支持部は駆動装置に固定的に接続され、
⑦カバー部は、他のカバー部とは独立してカバーシステムから取り外し可能である。
・引用文献
・Cramaro:USP 4,189,178
トラック(貨物車)に使用される格納可能な防水シートカバーシステムを開示
・Hall:USP 3,415,260
複数のフレキシブルスクリーンにセグメント化(分割)されたカバーシステムについて開示
・争点
・Cramaroは、クレーム1における「カバー部は、他のカバー部とは独立してカバーシステムから取り外し可能である」こと以外の全ての構成について開示している。この相違点にかかる構成について、Hallの開示を組み合わせて、109特許発明が自明であると判断されるかどうか。
・地裁判断: Hallのカバーシステムはトラックに使用されるものではなく、Cramaroのカバーシステムに組み合わせることは自明ではない。よって、法律事項判断(JOML)として、109特許は無効ではないと判断する。
3. CAFCの判断
・結論: 地裁の判断を破棄する。109特許は無効である。
・根拠
①Cramaroは、クレーム1における「カバー部は、他のカバー部とは独立してカバーシステムから取り外し可能である」こと以外の全ての構成について開示しており、Hallはカバー部が他のカバー部から独立して取り外し可能なカバーシステムについて開示している。
②ここで、Hallは、このカバーシステムをトラック用のカバーとして使用しても良いことを明確に開示している。したがって、Hallが関連する技術分野の先行技術ではないとの地裁の判断は誤りである。
③格納式の特性・機能を有するCramaroのカバーシステムに、Hallのカバーシステムにおける独立して取り外し可能なカバー部を組み合わせた構成では、Cramaroの格納式の特性・機能およびHallの取り外し可能な特性・機能が変更されることなくそのまま維持されており、予期する範囲を超えたものを生じさせるものでもない。
④したがって、Hallの取り外し可能なカバー部を、Cramaroのカバーシステムに組み込むことは、当業者にとって自明である。
以上
Ecolab, Inc. v. FMC Corporation
(CAFC, June 9, 2009)
1.判決のポイント
Bender文献をPAA消毒についての676特許の開示と組み合わせることは当業者にとって容易であり、この組み合わせは予期可能な結果を生み出すに過ぎないので、963特許のクレーム25~28は、自明性により無効である。
2.背景
・エコラボとFMCの双方は、病原菌を減少させる化学薬品を牛肉及び鶏肉の加工業者に販売している。
・エコラボは、鶏肉用のInspexx100と牛肉用のInspexx200とを販売している。
・FMCは、FMC-323を販売している。
・エコラボは、自身の米国特許6010729号(以下729特許)、米国特許6113963号(以下963特許)及び米国特許6103286号(以下286特許)を侵害するとして、FMCを訴えた。
・FMCは、1977年に発行され鶏肉の消毒方法をクレームとする自身の米国特許5632676号(以下676特許)を、エコラボが侵害しているとして反訴した。
・地裁判断(以下の陪審評決に基づき終局判決を下した):
(1)エコラボの729特許のクレーム17,19,20,22は、予想されるもの又は自明により、無効である。
(2)エコラボの286特許のクレーム1~4は、自明により、無効である。
(3)エコラボの963特許のクレーム7,17,19,20,22は、予想されるもの又は自明により、無効である。
(4)FMCの676特許は、無効ではない。
(5)FMCは、729特許のクレーム7及び963特許のクレーム25,27,28を故意に侵害した。
(6)エコラボは、676特許のクレーム1,5,6,7を侵害した。
(7)いずれの当事者もクレームの侵害を誘発させたものではない。
3.CAFCの判断
・結論:地裁の判断を覆し、963特許のクレーム25~28は、自明性により無効である、と判断した。
・根拠
対象特許
○963特許クレーム25~28:抗菌剤を使用する牛肉の消毒方法
(抗菌剤の噴射圧力、温度、時間、抗菌剤の成分[ペルオキシカルボン酸、カルボン酸]の濃度を規定)
引用文献
○676特許:PAAを使用する鶏肉の消毒方法
(クレームでは、PAAの濃度を規定)
(明細書には、PAAを使用する場合の温度、時間が記載)
⇒963特許は、抗菌剤の噴射圧力(少なくとも50psi以上)を除いて、676特許に記載されている。
○Bender文献(米国特許5143739号)
⇒抗菌剤を20~150psiでスプレーすることが開示されている。
①公知の構成を組み合わせる明らかな理由があった。
・肉に抗菌剤を高圧でスプレーすることは公知(Bender文献)である。
・肉をPAAで消毒する方法は公知(676特許)である。
・エコラボの専門家は、公知技術から、肉に抗菌剤を50psi以上の圧力でスプレーすることが好ましいことを知っていたと認めた。
⇒上記を組み合わせて、「肉にPAAを少なくとも50psi以上でスプレーして消毒する」ことに明らかな理由が有る。
②当業者は、上記組み合わせをどのようにして行うか知っていた。
・当業者は、Bender文献に開示された高圧スペレー装置を使用できた。
③上記組み合わせは予期可能な結果を生み出すに過ぎない。
⇒①~③より、CAFCは、Bender文献をPAA消毒についての676特許の開示と組み合わせることは当業者にとって容易であり、この組み合わせは予期可能な結果を生み出すに過ぎないので、963特許のクレーム25~28は、自明性により無効である、と判断した。
以上
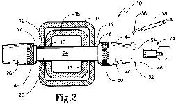
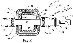
Wyers v. Master Lock Co. (CAFC, July 22, 2010)
1.判決のポイント
類似技術の範囲は、広く解釈されるべきであり、発明者が解決しようとした課題と合理的に関連している引用文献を包含する。
常識(common sense)は、自明性についての法律的な結論を支持するために用いても構わない(但し、常識が充分な論法で説明されている場合に限る)。
2.背景
【特許権者】Philip W. Wyers (Wyers Products Group, Inc.)
【被疑侵害者】Master Lock Company
【対象特許】 3件
(1) US 6,672,115 (‘115特許) Claims 15, 19, 21, 24 2000年4月24日出願
(2) US 7,165,426 (‘426特許) Claim 1 ‘115特許の分割
(3) US 7,225,649 (‘649特許) Claims 1, 9, 11 2003年2月7日仮出願
(1) ‘115特許 スリーブ特許(着脱自在スリーブ)
(2) ‘426特許 スリーブ特許(シャンク直径の変更方法)




10 locking device 12 shackle member 14 key operable locking head
16 latch portion 18, 20 bore 22 receiver 24 hitch (tow bar)
26 frame 28 vehicle 30 shank 32 stop portion
34 outer surface 36 annular circumferential end surface 38 shoulder
40 housing 50 cap element 52 sleeve
54, 56, 58, 60, 62, 64 sleeve elements 66 groove 68 O-ring
70 C-shaped washer
(3) ‘649特許 シール特許(防塵シール構造)






10 locking device 12 shackle member 14 locking head 20 shank portion
22 stop portion 24 latch portion 26 margin 27 stop face
28 latch head 30 lobe 32 post 34 cover 36 end wall
37 side wall 38 interior 39 lip 40 locking head
80 head cover 82 skirt 84 flange portion 86 opening
88 flange edge 90 interior 92 cap 94 hinge 96 ridge
139 flange 200 hitch bar 202 hitch receiver 204, 206 holes
【先行技術】
D1: US 5,664,445 “Chang特許” D2: US 4,711,106 “Johnson特許”

D3: US 5,284,038 Johnson

D4: US 6,055,832 Wyers “832特許” D5: US 3,963,264 “Down特許”


M2: Master Lock 6121 南京錠(padlock) D6: US 5,156,029 “Heald特許”

D7: US 3,858,419 “Hampton特許” D8: US 3,848,440 “Manuel特許”

D9: US 6,862,905 “905特許”
3.コロラド地裁の判断
Master Lockは、係争クレームが自明であることを立証できなかった。
陪審員は、Royaltyとして約500万ドルの損害賠償を認めた。
4.CAFCの判断
【結論】地裁の判断を取消し。Wyers特許3件は、自明性の点で無効である。
【根拠】本件では、Grahamテストに関して、特許クレーム範囲および当業者のレベルについては争いがなく、(1)先行技術引用文献が、特許発明と同じ活動分野(field of endeavor)であるか否か、(2)引用文献を組み合わせる充分な動機付けの有無、(3)関連する二次的考察の存在および重要性、が争点となった。
Ⅰ 関連する先行技術 (Relevant Prior Art)
1)スリーブ特許に関して、Down特許はトレーラ牽引用途と関連しており、スリーブ特許と同じ活動分野内にある。
2)シール特許に関して、’649特許は、発明の背景において先行技術としての南京錠に言及していることから、南京錠(Master Lock 6121)を関連した先行技術から除外すべきでない。また、南京錠が同じ活動分野内でなくても、解決しようとする課題、即ち、ロック機構への異物侵入防止と「合理的に関連している」ことは明らかである。
Ⅱ 組合せの動機付け (Motivation to Combine)
第2の論点は、1)スリーブを、先行技術バーベルロックと組み合せる動機付けがあったか否か、2)先行技術バーベルロックを外部シール機構と組み合せる動機付けがあったか否かである。
1)Down特許はトレーラ牽引アタッチメントを開示している。また、標準品において、様々な開口径が存在することが知られていた。従って、Down特許のスリーブを、バーベル形状のヒッチピンと組み合わせてサイズを適合させることは、常識(common sense)事項である。この点について、引用文献および発明の内容が容易に理解できる場合は、専門家の証言は必要ではない。
また、Down特許は、スリーブが垂直配置で、ピンの一部しかなく、一方、スリーブ特許は、スリーブが水平配置で、シャンク全体に及ぶ点で相違しているが、こうした相違点は重要とは認められない。
2)Chang特許は、内部シールを使用しており、”832特許は外部にO-リングを使用している。また、南京錠(Master Lock 6121)は外部シール構造を有する。Heald特許は、外部フランジシールを用いて、防水シールを形成している。Hampton特許は、ロックヘッドを覆う外部シール付きの南京錠を開示しており、泥や氷などの異物侵入を防止している。Manuel特許は、ロックヘッドを覆う外部フラットシール付きの南京錠を開示する。
当時、異物侵入防止のための外部シールおよび内部シールは、周知技術であった。従って、南京錠で用いられている外部フラットシールを、バーベル形状のヒッチピンと組み合わせることは常識事項である。
Ⅲ 二次的考察 (Secondary Considerations)
Wyersは、非自明性について、商業的成功、模倣、予期しない結果などの二次的考察の証拠を提出したが、Master Lock社の売上高だけでは、スリーブ特許と商業的成功との関連性(nexus)、シール特許と商業的成功との関連性を立証できていない。模倣、予期しない結果などの立証も不充分である。
以上
Deputy Spine, Inc., et al., v. Medtronic Sofamor Danek, Inc., et al.
(CAFC, June 1, 2009)
1. 判決のポイント
本件は、均等論主張に対する防御の一手法と、自明性の判断手法との2つを示す判決である。
KSR最高裁判決において、「公知の方法に係るありふれた構成要件の組み合わせては、予見できない効果を奏さない限り、自明である」と判示されているが、その上で、CAFCは「先行技術が組み合わせてのための阻害要因となる場合、自明でない」と判示した。
2. 背景
・特許権者:Deputy Spine 社等
・被疑侵害者:Medtronic Sofamor Danek 社等
・対象特許:US5,207,678(以下、678特許)およびその仮想クレーム
クレーム1:「・・・・・、前記ヘッド4を前記球形窪み部に押し付けるよう前記ヘッド4に力を負荷するための圧縮部材18と、からなる脊柱区域を安定させるための装置。」
仮想クレーム1:「・・・・・、前記ヘッド4を前記円錐窪み部に押し付けるよう前記ヘッド4に力を負荷するための圧縮部材18と、からなる脊柱区域を安定させるための装置。」
・引用文献
・引用文献1:(US5,474,555)(以下、Puno)
・引用文献2:(US2,346,346)(以下、Anderson)
・相違点
・Punoには、圧縮部材が開示されておらず、ネジ頭30と固定台座23とが離れている。
・Andersonには、圧縮部材15,15’が開示されているが、ボール14が前記圧縮部材15,15’にて強固に固定されている。
・地裁判断:差し戻し審において均等物であるイ号製品で規定される仮想クレームは、自明であるとする被告の陥れ防御を否定し、特許権侵害を認めた。
3. CAFCの判断
・結論:地裁の判断を支持し、仮想クレームは自明でないと判断し、陥れ防御を否定し、均等論上の侵害を認めた。
・根拠
・理由付けが弱い場合に、先行技術の組み合わせに関する阻害容易(Teach Away)が発生しているといえ、自明でない。
すなわち、仮に、Punoの器具にAndersonの圧縮部材を追加すると、Punoのネジ頭30がAndersonの圧縮部材15,15’に強固に固定される。この結果、脊柱に衝撃力が直接伝わり、衝撃吸収効果が得られず、器具と骨との融合に失敗する可能性がある。このため、CAFCは、以上の阻害要因の存在を理由として、仮想クレームは自明でないと判断した。
・また、自明性判断において副次的に用いられる2次的考察として、「他人の失敗」および「模倣」が存在したと認定した。

以上
In re ICON Health & Fitness, Inc.
(CAFC, August 1, 2007)
1. 判決のポイント
Teaching Point: 既知の要素の他の要素への置き換え(Substituting One Known Element for Another)
・異なる技術分野の引例が、自明性の判断の基礎として使えるかどうか、即ち、類似の技術分野(Analogous Art)かどうかは、解決課題(problem to be solved)を考慮して判断される。
・阻害理由(Teach Away)の反論は、自明性に対して有効な反論となりうるが、クレームの記載に基づく反論であることが必要である。
2. 背景
・特許権者:ICON Health & Fitness Inc.社
・対象特許:US 5,676,624(624特許):【図1】参照
クレーム1
①支持構造(support structure)、
②踏み台(tread base)、
③ハンドル手段(handle means)、
④ローラー手段(roller means)、および
⑤踏み台と直立構造との間に接続され、踏み台を第2の位置に安定に保持するガスバネ(gas spring)、を含むトレッドミル。
・引用文献
・Demark International Inc. Mail Order Catalog, dated Nov. 17, 1994, cover page and p. 6
・US 4,370,766 (Teague):【図2】参照
・相違点
・Demarkにはトレッドミル(ランニングマシン)が記載されているが、⑤踏み台と直立構造との間に接続され、踏み台を第2の位置に安定に保持するガスバネは記載されていない。構成要件①~④がDemarkに記載されていることについては争い無し。
・Teagueは、dual-action springを用いる折り畳式ベッド(panel bed)に関する発明であるのに対し、ICONはガスバネ(single-action spring)を用いるトレッドミルに関する発明であり、技術分野、およびバネの種類が異なっている。
・経緯
・USPTO審判部の判断:査定系再審査(ex parte Reexamination)および審判において、624特許の内容は、DemarkとTeagueを組み合わせることより自明であるとして特許性が否定された。
【図1】
対象特許:US 5,676,624(624特許)のトレッドミル

【図2】
引例Teague:US 4,370,766 の折り畳式ベッド(panel bed)

3. CAFCの判断
・結論:USPTOの審決を支持し、624特許の内容は、DemarkとTeagueを組み合わせることより自明であると結論づけた。
・根拠
・技術分野:TeagueのPanel Bed(分野:ベッド)は、ICONのTreadmill(分野:treadmill art)とは技術分野は相違するが、同じ課題を取り扱うため、「公知の部材は、主要な目的以外にも使用することができる。」(KSR Int’l Co. v. Teleflex, Inc., 127 S. Ct. 1727, 1742 (2007))を引用して、TeagueはICONと類似の分野(analogous art)であると認定された。
・組み合わせの容易性:「発明時にその分野で公知であり、かつ特許が取り組んだ必要性や問題は、クレームに記載された方法で要素を組み合わせる理由となる。」(KSR, 127 S. Ct. at 1742)を引用して、発明の技術課題が同一であることを理由に、組み合わせが容易と認定された。
例として、パーソナルコンピュータのヒンジやラッチメカニズムについての発明では、卓上電話帳、ピアノの蓋、キッチンキャビネット等のハウジング、ヒンジ等を参照するのが自然であると述べられている。
・阻害理由(Teach Away):当業者が引用文献を見た場合に、その方法を行うことを思い留まるか、発明とは異なる方向に進むような場合、あるいは発明が実行できない場合に、阻害理由となる。
本願発明のガスバネ(single-action spring)は一方向の力を加えるものであるが、Teagueのdual-action springはニュートラルポジションで力の方向が逆転するものであり、閉じた位置における力の方向が逆であるため、ICONは阻害理由となると主張していた。
ここで、「クレームされた発明の範囲は、明細書の記載と矛盾しない範囲(consistent with the specification)で最も広く解釈される(BRI: Broadest Reasonable Interpretation)」が、ICONのクレームには、「踏み台と直立構造との間に接続され、踏み台を第2の位置に安定に保持する」としか記載されていないため、Teagueを含むものと解釈され、ICONの主張は認められなかった。なお、ICONが狭いクレームであれば、阻害理由が認められた可能性について言及している。
以上
Agrizap, Inc. v. Woodstream Corp.
(CAFC, March 28, 2008)
1. 判決のポイント
類似の技術は、当該発明の技術的な努力傾注分野(field of endeavor)の先行技術に限定されず、出願人の目的にとって有用なものであると当業者により認識されたであろう先行技術も含む。
2. 背景
・特許権者:Agrizap社
・被疑侵害者:Woodstream社
・対象特許:US5,946,636(以下、636特許)
リスおよびネズミ等の齧歯動物(小動物)の駆除装置(有害生物の駆除装置)に関する特許である。
抵抗スイッチ(電気抵抗スイッチ)を用いて、小動物を検出した場合、高電圧発生器を用いて発生した高圧電流を高圧電極と基準電極間に所定の時間流すことで小動物を感電死させ、以後はリセットするまで抵抗スイッチによる高電圧発生器の起動を解除する小動物を感電死させるための装置および方法を規定している(請求項については記載を省略)。
・先行技術
先行技術1:636特許の出願日の1年以上前から公用であった636特許の特許権者による小動物の駆除装置
(対応特許 US5,569,091 636特許は、本対応特許についてterminal disclaimer提出済みのため本対応特許は先行技術となっていない。)
先行技術2:US4,048,746 齧歯動物が抵抗スイッチの一部として用いられている齧歯動物の駆除装置を開示。
先行技術3:US4,200,809 牛の体のような外的抵抗が2つの電極と交わり抵抗回路を形成して電荷を生ずる牛追い棒に関する装置を開示。
・相違点
先行技術1は、回路を完成させるスイッチとして機械スイッチを用いている以外は、636特許の技術的特徴を全て開示している。
一方、先行技術2は636特許と同じ齧歯動物の駆除装置において電気抵抗スイッチを開示し、先行技術3は齧歯動物の駆除装置とは異なる牛追い棒に関する装置において電気抵抗スイッチを開示している。
・地裁判断:特許は有効だが非侵害
ペンシルベニア州東部地区連邦地方裁判所は、商業的成功および長期間望んで達成されなかったこと(long felt need)を示す証拠も考慮して特許は有効とした陪審員の評決を認める(JMOL(judgment as a matter of law)の請求を認めず)一方で、被疑侵害者の製品が請求項16(装置クレーム)を侵害するという陪審員の評決を覆し(JMOLの請求を認め)特許侵害は認めなかった。
3. CAFCの判断
・結論:636特許は無効であり権利行使できない。
・概略
CAFCは判決の中で、636特許と公用であった小動物の駆除装置(先行技術1)との差は、前者が電気抵抗スイッチを用いているのに対して後者が機械スイッチを用いていることだけであるとしている。
さらに’746(先行技術2)および’809(先行技術3)がそれぞれ泥や湿気の多い環境での機械スイッチの故障等636特許と同様の課題の解決を意図し、その課題の解決手段として電気抵抗スイッチを開示していることを示している。
その上で、本件はKSR判決が示した、「権利を主張している請求項が公知の方法のよく知られた構成の組み合わせを含み、予測可能な結果しかもたらさない場合」の教科書的なケースであるとして、発明は自明であり、従って特許は無効であると判断した。
また、非自明性の根拠として商業的成功および長期間望んで達成されなかったこと(long felt need)を示す証拠が特許権者側から提出されていることについては、これらは636特許が明らかに自明であることを克服するには十分でないと判断した。
上述のように電気抵抗スイッチに係る2つの先行技術のうち`809(先行技術3)については、小動物(齧歯動物)の駆除装置とは異なる技術分野である牛追い棒に関する装置に係るものであることを示した上で、先行技術として用いている。
このことから、KSRガイドライン2010では、本判決のTeaching pointとして「類似の技術は、当該発明の技術的な努力傾注分野(field of endeavor)の先行技術に限定されず、出願人の目的にとって有用なものであると当業者により認識されたであろう先行技術も含む。」としている。
以上
Muniauction, Inc v. Thomson Corporation and I-Deal, LLC,
(CAFC, July 14, 2008)
1. 判決のポイント
・既存の方法を改変し、情報の伝達及び表示の手段としてありふれたインターネットやウェブブラウザ技術を組み込むようことは、自明であった。
・自明性判断において賞賛が二次的考慮事項として考慮されるには、クレームされた発明と範囲が同じで(coextensive)、結び付き(nexus)を有することが要求される。
・クレームの用語に明細書や要約書で「通常の(conventional)」を使用すると、その用語は出願時に存在する技術を意味すると解釈される。
2. 背景
・特許権者:Muniauction社
・被疑侵害者:Thomson社,I-Deal社
・対象特許:USP6,161,099(以下、099特許)
地方債のような金融商品をその発行者(起債者)がインターネット上でオークションする方法
クレーム1:
ディスプレイを有する発行者のコンピュータと、入力装置とディスプレイを有する少なくとも1つの入札者のコンピュータとを含み、前記入札者のコンピュータは前記発行者のコンピュータに対して遠隔に配置され、前記コンピュータは前記コンピュータ間のデータメッセージの伝送のための少なくとも1つの電子ネットワークに接続された電子オークションシステムにおいて、確定利付き金融商品をオークションするための電子オークション方法であって、
少なくとも1つの確定利付き金融商品に対する少なくとも1つの付け値に関するデータを前記入力装置で入力し、
少なくとも一部は前記入力されたデータに基づいて少なくとも1つの利子費用値を自動的に計算し、前記自動的に計算された利子費用値は、前記少なくとも1つの確定利付き金融商品に関する借入費用を表す利率を特定し、
少なくとも前記入力されたデータのいくつかを前記入札者のコンピュータから前記少なくとも1つの電子ネットワークを介して伝送することで、前記付け値を提出し、
前記提出された付け値に関連する少なくとも1つのメッセージを、前記少なくとも1つの電子ネットワークを介して前記発行者のコンピュータに伝送し、前記計算された利子費用値を含む前記付け値に関する情報を前記入札者のコンピュータのディスプレイに表示させ、
前記入力ステップ、前記自動計算ステップ、前記提出ステップ、前記伝送ステップ、及び前記表示ステップのうちの少なくとも1つがウェブブラウザを使用して実行される、電子オークション方法。
クレーム31:クレーム1に相当する「電子オークションシステム」のクレーム

10:オークション主催者(発行者)のコンピュータ
12:インターネット
14:ユーザ(入札者)のコンピュータ
・引用発明
Parity
Parityは、地方債オークションに使用される電子入札システムであり、出願人自身が明細書中で先行技術として提示していた。
・地裁の判断:
099特許はParityから自明ではなく、自明でないことは十分な二次的状況証拠で裏付けられている。
3. CAFCの判断
・結論:099特許はParityから自明であり無効である。
・根拠:
(1)先行技術の範囲と内容に関する認定
Parityを使用した電子オークション方法は、ウェブラウザを使用しない点のみで099特許と相違すると認定された。Parityがクレーム1,31の「自動計算ステップ」を実行する否かについて当事者間で争いがあった。CAFCは特許権者側の専門家の証言が地裁によるクレーム解釈と適合することを理由に、Parityを使用した電子オークション方法も「自動計算ステップ」を実行すると認定した。
(2)自明性の判断(prima facie caseの確立)
ウェブラウザの使用以外のすべての構成要件を備える既存のParityを改良してウェブラウザを組み込むことは、当業者にとって周知である2つの先行技術要素を組み合わせることであり、自明であったと判断された。
ウェブラウザが周知であったことに関し、099特許の明細書や要約でウェブブラウザについて「通常の(conventional)」という語句が使用されていることを理由に、クレーム1,31のウェブブラウザという用語は出願時に存在していたものを意味すると認定された。「通常の(conventional)」という語句は黙示的に時間依存的(time dependent)であり、それによって限定されるクレームの限定事項の文言上の範囲は発明時に存在する技術に限定される、とされた。
組み合わせが容易であることの理由として、以下が指摘された。
インターネット及びウェブブラウザを使用した電子オークションシステムは099特許の出願時に十分に確立された(well-established)技術であるとされた。例として、ネットスケープ(Netscape)のようなインターネットブラウザを使用して入札を提出するオンラインオークションを開示しているUSP5,794,219(219特許)と、電子オークションを実行するためにワールドワイドウェブ(World Wide Web)とウェブブラウザを使用することを開示しているUSP5,835,896(896特許)が挙げられた。
219特許及び896特許はいずれも、099特許のように発行者(起債者)による金融商品オークションを対象としているのかについては明確に言及していなかった。この点に関し、KSR判決の「ある製品が一つの努力している分野で利用可能である場合、設計上のインセンティブ及びその他の市場動向は、同じ分野又は他の分野において、その派生(variations)を促す可能性がある。」という判示が引用された。その上で、政府会計担当者協会(Government Finance Officer’s Association: GFOA)の会議におけるスピーチで、消費者に債券を流通させる上でワールドワイドウェブの活用が望まれることに言及されていたことは、KSR事件で判示された「設計コミュニティに知られた又は市場において存在する需要の影響」を示唆するとされた。つまり、219特許及び896特許に開示されている既存の技術の「派生」を促進したであろう市場動向の存在が認定された。
本事件はLeapfrog Enterprise, Inc対Fisher-Price, Inc事件と極めて類似していることが指摘された。つまり、Leapfrog事件における先行技術の機械式の子供用学習装置により現代的な電子工学の技術を適用することと、本事件における既存の電子オークション方法にインターネット及びウェブブラウザ技術を適用することは、いずれもKSR判決で判示されているところの「市場動向」による動機付けがあり、出願時にありふれた(commonplace)ことであるとされた。
(3)二次的考慮
賞賛に関し、二次的考慮の証拠はクレームされた発明と範囲が同じ(coextensive)ではなく、クレームされた発明との結び付き(nexus)に欠けると判断された。Muniauctionのシステムを採用したピッツバーグ市が「Innovations in American Government」賞を受賞していた。その受賞理由は、従来からある「全てか無かの入札(all-or-none bidding)」とは異なる「満期毎入札(maturity-by-maturity bidding)」を実行可能であることと、受賞時の報道発表に基づいて認定された。これに対し、クレーム1,31は「満期毎入札」と「全てか無かの入札」の両方を包含しているので、受賞理由はクレームされた発明と範囲が異なり、結び付きがないと判断された。
発明性に対する懐疑(skepticism)については、従来の「全てか無かの入札」により優位性を享受している大規模投資銀行から提示されていたことを理由に、クレームされた発明との結び付がないと判断された。
その他の二次的考慮(他人の模倣、商業的成功)については、自明であるという結論を覆すにまったく不十分であると判断された。
以上
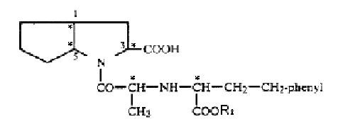
Aventis Pharma AG DeutSchland and King v. Lupin Ltd.
(CAFC, September 11, 2007)
1. 判決のポイント
下記の場合
①クレーム化合物とその他の化合物の混合物、並びにその効果が公知である
②当該混合物で得られる効果が、クレーム化合物からのみ、あるいは少なくともその一部がクレーム化合物により得られると当業者が期待する合理的な根拠がある、
③当該混合物からクレーム化合物を単離することは容易である
先行技術にクレーム化合物単離の動機付け(motivation)が無くともクレーム化合物は公知混合物に対して一応自明(prima facie obvious)であると認定される。
2. 背景
特許権者:AventiS Pharma DeutSchland
被疑侵害者:Lupin Ltd
対象特許:US5,061,722(‘722特許)
請求項1 下式で示される化合物:

[式中、…….(5個の)キラル中心1 はそれぞれS配置]
またはその生理学的に許容しうる塩、
ここで該化合物またはその塩は実質的に他の異性体を含まない。
(式中の*印はキラル中心を示す。筆者が書き加えた)
請求項2 N-(1-S-カルボエトキシ-3-フェニル-プロピル)-S-アラニル-シス,エンド-2-アザビシクロ-[3.3.0]-オクタン-3-S-カルボン酸またはその塩である、請求項1の化合物。
(請求項1の式中、R2がエチルである化合物)
効果:ACE阻害作用により、高血圧の治療に有効
________________________________________
1: 化合物中の炭素原子が4つの異なる基に結合している場合にこれを「キラル中心」という。キラル中心に結合する基はS配置またはR配置のいずれかを取り、キラル中心1つにつき2種類の異性体を取りうる。請求項1の化合物は分子中に5個のキラル中心があり、異性体の可能性としては25=32種類。
________________________________________
・ Aventisは請求項2の化合物(一般名ラミプリル(ramipril))を高血圧治療剤「AltaceR」として販売。以下請求項2の化合物を「ラミプリル5S体」という。
・先行技術
① Nature (Nov. 20, 1980)
ACE阻害剤エナラプリル(下式)は3つのキラル中心を有しており、全てがS配置である3S体がSSR体より700倍強い活性を示す。

エナラプリル(enalapril)
② US 5,348,944(‘944特許)
実施例にラミプリルの5S体を含む異性体混合物を製造したことを開示。
異性体を分割することを示唆する記載なし。
異性体混合物から立体異性体を容易に分割し得ることを教示。
③ Dr. Smith実験ノート[102(g)の先行技術]
ラミプリルのSSSSR体と5S体の混合物であるSCH31925を製造
SCH31925の治療効果を動物試験で確認
異性体を分割して5S体だけにすることを着想(conceive)したとの証拠は無い。
・相違点 先行技術はラミプリルの異性体混合物を開示。’722特許は「実質的に他の異性体を含まないラミプリル5S体」。
・’722特許権者による実験成績証明書の提出
ラミプリルの32個の異性体のうち2番目に強力なRRSSS体と5S体の活性を比較し、5S体が18倍優れた活性を有することを示す実験成績証明書を提出した。
・地裁の判断
‘722特許は有効。侵害成立
-先行技術は「実質的に他の異性体を含まないラミプリル5S体」を教示(teach)していない。
-被疑侵害者は当業者が「実質的に他の異性体を含まないラミプリル5S体」を単離しようとする動機付け(motivation)が先行技術にあることを明白かつ確信を持つに足る証拠(clear and convincing evidence)により示していない。
3 CAFCの判断
結論 地裁の判断を覆す。’722特許は先行技術より非自明であり無効。
・クレームが純物質で、先行技術に該純物質を含む混合物が開示されている場合の自明性について教示
i) 自明性が否定され得る場合
・純物質が混合物に含まれていることが未知
・純物質が混合物質の活性物質であることが未知
・混合物からの純物質の単離方法自体に特許性有り
ii) 一応の自明性(prima facie obivious)が認められる場合
・混合物の目的とする特性の全部または一部が、純物質に由来すると、先行技術に基づき当業者が信じる理由がある
-純物質を単離する明示的な教示がなくとも、純物質は先行技術の混合物により一応自明である(prima facie obviousness)と判断される。
-混合物の特性が純物質にも保持されており、純物質の単離方法が知られているのならば、混合物から純物質を得ることに革新性はない。
一応の自明性が認定された場合、出願人/特許権者は例えば純物質が混合物と比して予測し得ない有利な効果を有していることを立証する等により反論の可能性がある。
上記教示の本件への当て嵌め
・本件の争点 「実質的に他の異性体を含まないラミプリル5S体」が’722特許優先日に先行技術に対して自明であったか否か。
-SCH31925はラミプリル5S体とSSSSR体の混合物であり、両者は二環基の橋かけ部以外の部分が相違する化合物である。二環部分を有していない以外はラミプリルと類似構造を有するエナラプリルの活性は3S体がSSR体より700倍強く、当業者はSCH31925の活性が二つの異性体のうち主に5S体によるものと考える。
-’944特許には立体異性体を分離するのは容易であると記載され、SCH31925を5S体とSSSSR体に分離することが当業者の通常の業務を超えることを示す証拠もない。
-特許権者の実験成績証明書は5S体とRRSSS体の活性を比較するものであるが、先行技術は5S体とSSSSR体混合物であるSCH31925である(RRSSS体を含まない)。よってこの比較は意味がない。(5S体とSCH31925との比較でunexpected resultを示すことができれば、非自明と判断される可能性はあった)
以上により、’722特許は先行技術①~③に対して非自明であり、無効
Eisai Co. Ltd. v. Dr. Reddy’s Labs., Ltd.
(533 F,3d 1353 CAFC, July 21, 2008)
1. 判決のポイント
先行技術にリード化合物が開示されていても、当業者が、クレームされた化合物を想到すべく、そのリード化合物を改変する理由(動機付け)がなく、リード化合物を改変すると、その有利な特性が破壊されることを先行技術が教示している場合は、クレームされた化合物は当該先行技術から自明ではない。しかし、当業者が、ある化合物を出発物質として改変して、クレームされた化合物を得ようとする何らかの理由(動機付け)があれば、いかなる化合物もリード化合物となり得る。
2. 背景
・特許権者: Eisai Co., and Eisai Inc.(以下、Eisai)
・被疑侵害者:Dr. Reddy’s Laboratories, Ltd., and Dr. Reddy’s Laboratories, Inc.,
(以下、Dr. Reddy’s)
and Teva Pharaceuticals USA Inc.(以下、Teva)
・対象特許: US5,045,552(以下、552特許)
ラベプラゾール(rabeprazole)(Aciphex):H+K+ATPase(胃酸を産生する酵素)阻害作用
消化性潰瘍の治療または予防において活性を有するピリジン誘導体に関する発明で、ピリジン骨格の4位がメトキシプロポキシ(OCH2CH2CH2OCH3)で置換されていることを特徴とする。
クレーム1:式:

で示される化合物または薬理学的に許容しうるその塩。
クレーム2:ナトリウム塩である請求項1に記載の化合物。
クレーム3:有効量の請求項1に記載の化合物および薬理学的に許容しうる担体または希釈剤を含む、消化性潰瘍の予防または治療のための医薬組成物。
クレーム4:有効量の請求項2に記載の化合物および薬理学的に許容しうる担体または希釈剤を含む、消化性潰瘍の予防または治療のための医薬組成物。
クレーム5:消化性潰瘍の予防または治療を要する患者に有効量の請求項1に記載の化合物を投与することを含む、消化性潰瘍の予防または治療方法。
クレーム6:消化性潰瘍の予防または治療を要する患者に有効量の請求項2に記載の化合物を投与することを含む、消化性潰瘍の予防または治療方法。
・引用文献
・ランソプラゾール(lansoprazole)(潰瘍治療用化合物) [ヨーロッパ特許第174,726 (Takeda)](以下、EP726特許)
・オメプラゾール(omeprazole)[US4,255,431 (Junggren)] (以下、431特許)
・ベンズイミダゾール-スルフィニルメチル-ピリジンコア構造を有する抗潰瘍性化合物[an article by Brandstrom, “Structure Activity Relationships of Substituted Benzimidazoles”](以下、Brandstrom)

・相違点
・クレームの化合物は、ピリジン骨格の4位にメトキシプロポキシ(OCH2CH2CH2OCH3)置換基を有するが、EP726特許のランソプラゾールは、トリフルオロエトキシ(OCH2CF3)置換基を有し、431特許のオメプラゾールは、メトキシ(OCH3)置換基を有する。

・地裁判断:552特許は引用文献から自明ではなく、有効である。
・事件の経緯
2003.10 Dr. Reddy’sおよびTevaがFDAに抗潰瘍剤「Aciphex」のジェネリックバージョンをパラグラフIVにてANDA申請後、Eisaiに通告
2003.11 Eisaiが特許侵害で両社を提訴(United States District Court for the Southern District of New York)
2006.10 Judge Lynchによるサマリージャッジメントにて一部容認(552特許は有効)。ただし、Inequitable Conductについてはトライアルを行う。
2007.3 トライアル(United States District Court for the Southern District of New York)
2007,5.11 552特許はenforceableとの判断
2007,5.11より30日以内 Dr. Reddy’sおよびTevaがCAFCに提訴
2008.7.21 CAFCが地裁の判決を支持
3. CAFCの判断
・結論:地裁の判断を支持し、552特許は引用文献から自明ではなく、有効である。
・根拠
・EP726特許には、ランソプラゾールが、親油性を達成する特別の途(”a special path to achieving lipophilicity”)を提供するとの教示あり。
・Tevaのexpertは、フッ素置換基が親油性を増大させることを認めた。
・当業者が、ランソプラゾールをリード化合物(出発化合物)として、この親油性を増大させるという有利な特性を付与するフッ素置換基を除去して他の置換基を導入することの理由付けの明確な説明がなされていない。
・Tevaのpharmacology expert (Dr. John Forte)も、ランソプラゾールの特許性の評価の審査に対するランソプラゾールの関連性についての意見を述べることを許否した。
・Dr. Reddyのpharmacology expert (Dr. Smith Bank)も、「ランソプラゾールは、本件トライアルと関係ないと考える」と証言した。
・不利な副作用は、当業者がその化合物を出発化合物として用いることを回避させる(Takeda Chem. Indus. v. Alphapharm Pty., Ltd., 492 F.3d)。
・KSR判決によれば、自明であるといえるためには、当業者がクレームされた化合物を想到すべく特定の改変をする何らかの理由がなければならない。
・関連判例
・構造上の類似性に基づく自明性の判断は、当業者が公知の化合物(すなわち、リード化合物)を、クレームされた化合物に想到すべく、選択し、特定の仕方で改変するように導く動機を特定することによってなされる(Takeda Chem. Indus. v. Aphapharm Pty., Ltd., 492 F.3d)。
以上
Procter & Gamble Co. v. Teva Pharmaceuticals USA, Inc. (4.12)
(CAFC, May 13, 2009)
1. 判決のポイント
自明性に関する拒絶をするのに、「リード化合物」として単一の化合物が選択されていることは要求されない。しかし、特許請求される化合物を得るためのリード化合物が選択され、それを変更・修正していく何らかの根拠がある場合でも、成功への合理的な予見がなければ、特許請求される化合物は自明ではない。
2. 背景
・特許権者:Procter & Gamble(以下、P&G)
・被疑侵害者:Teva Pharmaceuticals(以下、Teva)
・対象特許:US 5,583,122(以下、122特許)
P&Gの骨粗鬆薬ActonelRの活性成分であるリセドロネート(risedronate)の物質、医薬組成物、治療方法クレームを含む特許。リセドロネートは、骨吸収を阻害することで知られていた化合物群のビスホスホネート誘導体であった。
・引用文献:US 4,761,406(以下、406特許)
引用文献は対象特許と同じくP&Gの特許文献で、骨吸収を阻害するビスホスホネート誘導体に関するもので、その中には骨粗鬆症に関して有用な可能性を有する36個の化合物と、より好適な8個の化合物の教示があり、その中に2-ピリジルEHDP(以下、2-Pyr EHDP)が含まれていた。
・相違点
置換基のピリジルの結合位置が異なる位置異性体。

・地裁判断:122特許は無効ではない。
Tevaが主張したリセドロネートがその位置異性体である2-Pyr EHDPに構造が類似することを根拠に自明であることに対し、地裁では、当該技術分野での予測不可能な性質の観点から、リード化合物として2-Pyr EHDPを選択する理由はなく、またリセドロネートを得るのにそれを変更・修正する理由がないとした。また、活性や毒性に関して予測できない結果があった。従って、地裁ではTevaの事件は明白ではなく、たとえそうであっても、予測できない結果の証拠により反証されないとした。
3. CAFCの判断
・結論:地裁の判断を支持し、122特許は無効ではない。
・根拠
CAFCは、2-Pyr EHDPがリード化合物として適切に選択されるかどうかの疑問を考慮する必要がないと見なした。むしろ、CAFCは、2-Pyr EHDPが適当なリード化合物と仮定した場合、リセドロネートを調製するためにそれを変更・修正する理由と、成功への合理的な予見の両方がなければならないと述べた。ここでは、必要な変更・修正が型通りである証拠はなく、成功への合理的な予見はなかった。
P&Gはまた、非自明性に関する別の考慮すべき事項として、リセドロネートの作用等の情報を提供した。CAFCにおいては本事件が自明性を争うような明白な事件でないことを上記のとおり見出してはいるが、P&Gが提供、主張した反論の証拠を少し詳しく分析し、係る証拠による正確な判断に用いた。
CAFCは、たとえ本件が自明性の明白な事件であったとしても、予測できない効果などの結果が、十分な証拠の提示と共に反証されていたことについて、以下のように言及した。すなわち、公判において証人は、リセドロネートの活性、低用量でその効果の得られることを研究者が予測できないこと、およびその優れた特徴はあらかじめ期待も予測もできないことを、証拠を示しながら示し、リセドロネートの特徴が予見されないことを一貫して証言した。ここでリセドロネートを先行技術の化合物と比較した試験は、リセドロネートがかなりの差で他方の化合物より優れ、検出可能な毒性もなく高用量で投与でき、他方の化合物ほどのレベルの致命的な害もなかったことを示していた。証拠の量も証人の信憑性も、自明性の決定に反証するのに十分な予期できない結果を示されていた。従って、特許請求された化合物は、先行技術と比較した場合、予期できない優れた特徴を有することが示されており、非自明性は示されていると判断した。
CAFCは、次いでリセドロネートの商業的成功の証拠と、リセドロネートが長年に亘って求められてきた医療現場での要求に適合した証拠を検証した。CAFCは、競業製品もP&Gに譲渡されているので、商業的成功は重視しなかった。しかし、CAFCはリセドロネートが長年に亘って満足されてこなかった医療現場での要求に適合したという地裁の結論を支持した。Tevaは競合製品がActonelの上市前から入手可能であったことから、本発明がかかる医療現場での要求を満たす必要性は当時なかったと主張したが、CAFCは、その論点を拒絶した。CAFCは、長年に亘って満足されてこなかった医療現場での要求があったかどうかは、発明の出願日の環境に基づいて評価されるべきもので、発明品が市場にもたらされた日でないとした。
しかし、CAFCは、化学化合物における自明性の拒絶理由を主張するのに、すべての場合で単一のリード化合物の識別が必要であるとしているのではないと付け加えた(例えば、構造的に定義された部分、あるいはある特徴を有した部分を有する化合物を用いるための、当該技術分野における示唆が想像できうる場合)。当業者はかかる化合物をいかに合成するかを知っていて、そして構造的および/または機能的結果が合理的に予測され、特許請求された化学化合物の自明性が明白な場合は、特定のリード化合物の識別なしで拒絶されうるとした。また別の例として、化学的リンカーを介して結合する2つの公知化合物からなるような化合物が特許請求されることもありうる。この結びついた化合物は、その2つを結び付ける理由があり、当業者がその方法を知っており、そして生じた化合物が関連の手順の予測可能な結果であるならば、自明であると厳格に判断されうるとした。従って、特許審査官は一定の状況下、たとえ単一のリード化合物が識別されてなくても、自明として特許請求される化学化合物を拒絶することが妥当である場合があることを認識すべきである。
以上
Altana Pharma AG v. Teva Pharmaceuticals USA Inc..
(CAFC, May 14, 2009)
1. 判決のポイント
先行化合物との構造上の類似性の観点で、化合物の自明性は、当業者がクレームされた化合物を得るのに特定の方法で先行技術のリード化合物を選択し、変更するに到る理由が明らかにされることによって示され得る。そして、その理由が先行文献中に明示されている必要はなく、また先行文献中に単一のリード化合物だけが指摘されている必要もない。
2. 背景
・概要
Altana社らは、抗潰瘍薬 ”Protonix○R” の有効成分であるパントプラゾール(Pantoprazole)(プロトンポンプ阻害剤(PPI))に関するUS4,758,579特許(以下、’579特許)に基づいて、Protonix○Rのジェネリック品を米国食品医薬品局(FDA)に簡略新薬申請(ANDA)を行ったTeva社らをニュージャージー地区地裁に提訴し、予備差止命令を申請したが、’579特許は自明の疑いがあるとの理由で地裁は認容しなかったため、地裁の判決を不服としてCAFCに提訴したが、CAFCは地裁の判断を支持した。
・原告(控訴人、特許権者):Altana社(Altana Pharma AG(旧Byk Gulden))et al.
・被告(被控訴人):Teva社(Teva Pharmaceuticals USA Inc., Teva Pharmaceuticals Industries, Ltd.)
Sun社(Sun Pharmaceutical Industries, Ltd.)et al.
・対象特許:US4,758,579(以下、’579特許)
プロトンポンプ阻害剤(PPI)として作用する下記構造式を有する化合物。

・被疑侵害品
パントプラゾール(上記式中のR2基がメトキシ(OCH3)基)
・引用文献(US4,555,518(以下、’518特許);参考:’579特許と同一特許権者))
化合物12(上記式中のR2基がメチル(CH3)基)

・相違点
・ピリジン環の第3位のR2基が、パントプラゾールではメトキシ基であるのに対して、引用文献’518特許の化合物12ではメチル基である。
・無効理由
(1) ‘518特許中の化合物12は、’579のパントプラゾールのリード化合物である。
(2) 胃酸分泌抑制剤と胃潰瘍に関するSachs(George Sachs著, 310 New Eng. J. Med. 785 (1984))の文献には、PPIのpKa値(酸解離定数)が低いほど酸性度が高まり、患者の体内(pH 5)でのPPIの安定性が向上するとの教示がある。
(3) 第3位置換のピリジン等のイオン化(酸解離)定数に関するBryson(Dr. A. Bryson著, 82 J. Am. Chem. Soc. 4871 (1960))の文献には、単純なピリジン環の第3位をメトキシ基で置換することにより、同位置がメチル基のものより、pKa値が低下するとの教示がある。
(4) 最初に商品化されたPPI(AstraZeneca社のオメプラゾール(Omeprazole))に関するUS4,255,431 (‘431特許)には、PPIにおけるピリジン環の第3位のメチル基をメトキシ基に置き換えることができるとの示唆がある。
・地裁判断:’579特許は無効であり権利行使できない(予備差止命令の申請は許容できない)。
3. CAFCの判断
・結論:地裁の判断を支持し、’579特許は無効であり権利行使できない。
・根拠
・化合物に関する特許の自明性の問題において、グラハムテストの第2番目の基準についてはクレーム化合物と先行化合物との間の構造上の類似点と相違点に基づき判断される[Eisai Co. Ltd. V. Dr. Reddy’s labs., Ltd., 533 F.3d 153, 1356-57 (Fed. Cir. 2008) (Example No. 4-13)]。
・新規化合物に関する訴訟において、一応の自明性(prima facie obviousness)を認定するためには、化学者が特定の方法で公知化合物を変更する理由が明らかにされなければいけない[Yamanouchi Pharm. Co., Ltd. V. Danbury Pharmacal, Inc., 231, F.3d 1339, 1344 (Fed. Cir. 2000)]。
・この基準は、KSR最高裁判決で示された法的原則と矛盾するものではない。言い換えれば、KSR判決以降も、化合物の一応の自明性はなお一般的には、リード化合物の合理的な特定から始められる[Takeda Chem. Indus., Ltd. v. Alphapharm Pty., Ltd., 492, F.3d 1350, 1356 (Fed. Cir. 2007) (Example No. 4-15); Eisai, 533, F.3d 1359 (Example No. 4-13)]。
・そこで本事件について勘案すると、まず当業者であれば、’518特許中に記載された薬効が確認された化合物(18種)の中からより活性が強いものの1例である化合物12をリード化合物とすることは自然な選択である。
・次に、変更理由についても、Sachsの文献にはPPIのpKa値を低下させてPPIの体内安定性を向上させることが教示されており、またBrysonの文献にはそのpKa値の低下の手法、すなわちピリジン環の第3位のメチル基をメトキシ基に置き換えることが教示されており、よって変更理由も明らかである。
以上
In re Kubin
(CAFC, April 23, 2009)
1.判決のポイント
CAFCは、KSR判決によれば、試すことが自明(「Obvious to try」)と判断されたクレームは、米国特許法第103条(以下「103条」という)のもとで必然的かつ自動的に自明であるわけではないとした。CAFCは、自明でないことを主張できる2つの場合(後述)を挙げた。
2.背景
・上訴人:Marek Z. KubinおよびRaymond G. Goodwin
・対象特許出願:米国特許出願第09/667,859号(以下「859出願」という)
・係争クレーム:
請求項73. 配列番号2のアミノ酸22~221に対して少なくとも80%同一であるポリペプチドをコードするポリヌクレオチドを含む単離核酸分子であって、該ポリペプチドがCD48に結合するものである核酸分子。
係争クレ-ムは、NAIL蛋白の部分アミノ酸配列と類似のアミノ酸配列を含むポリペプチドをコードする単離核酸分子に関するものである。
・引用文献
引用文献1(主引例):米国特許第5,688,690号(以下「Valiante」という)
Valianteはp38蛋白(NAIL蛋白)のcDNAをクローニングする方法を開示しているが、p38のアミノ酸配列やそれをコードするDNA配列は開示していない。
引用文献2(副引例):J. Sambrook et al., Molecular Cloning: A Laboratory Manual 43-84 (2d ed. 1989(以下「Sambrook」という)
Sambrookは目的のDNAやアミノ酸配列を得るための一般的な方法論を記載している。
考慮された文献:P. Mathew et al., J. Immunology 151, 5328-37 (1983)
・審判部での判断:Valianteの開示に基づき、Sambrookに記載の従来公知の手法を用いてNAIL蛋白のアミノ酸配列、それをコードするポリヌクレオチドの塩基配列を同定できるとした(上記請求項に係る発明は103条のもと自明とした)。
3.CAFCの判断
・結論:審判部の判断を支持するものであり、係争クレームは103条のもと自明であるとした。
・根拠
Valianteは、p38(NAIL蛋白)、それに特異的なモノクローナル抗体C1.7、該抗体を用いてp38をコードする核酸分子をクローニングする方法を開示しており、該蛋白のアミノ酸配列やDNA配列は当業者によく知られた方法により得られるとも記載している。Valianteは、クローニング方法としてSambrookに記載の方法を引用している(上訴人の明細書も、当該核酸分子を得るために従来法であるSambrookに記載の方法を用いることを記載している)。さらにValianteは、p38が免疫応答(NK細胞活性化)において重要な役割を果たしているとも教示している。
したがって、当業者であればNAIL蛋白のアミノ酸配列を特定しようとする動機を有し、成功に対する合理的な期待を持つことから、係争クレームに係る発明は「Obvious to try」である。
ただし、「Obvious to try」であっても、下記(1)、(2)の場合には、103条のもとで自明とされない(In re O’Farrellを引用):
(1)成功に到達するまで、すべてのパラメータを変更したり、多数の選択肢を試す場合において、先行技術が、どのパラメータが重要であるか示唆していないか、あるいは多くの選択肢のうちどれが成功しそうかに関して示唆していない、あるいはどれが成功しそうであるかについて指針を与えていない場合。
(2)新技術または実験分野において有望と思われる一般的な解決法を探索する場合において、先行技術が、クレームされた発明の特定の型、またはどのようにしてそれに到達するのかについて一般的な指針を与えるだけの場合。
Takeda Chemical Industries, Ltd. v. Alphapharm Pty., Ltd.
(CAFC, June 27, 2007)
1. 判決のポイント
広範な化合物の中のいずれかをリード化合物として選択して、クレームされた化合物を得ようと試みることが自明ではない場合、先行技術が特定のリード化合物を使用することから逸脱する場合、およびリード化合物をクレームされた化合物に変更するのに必要な特定の修飾を加えても成功の可能性がない場合や成功の合理的な期待がない場合には、クレームされた化合物は自明とはいえない。
2. 背景
・特許権者:Takeda Chemical Industries, Ltd.(以下、武田薬品)
・被疑侵害者:Alphapharm Pty., Ltd.(以下、Alphapharm社)
・対象特許:US4,687,777(以下、777特許)
武田薬品のII型糖尿病治療薬ACTOSメフ活性成分である塩酸ピオグリタゾン(Pioglitazone Hydrochloride)を含む、チアゾリジンジオン系化合物に関する特許。本特許は、薬理効果および毒性または望ましくない副作用の間の広い安全域を有する糖尿病治療薬として実用的に使用されうる化合物を対象とする。
争点となったクレーム:クレーム1、2、5
クレーム1: 式:

で示される化合物に関するクレーム。
クレーム2: クレーム1の化合物をピオグリタゾンに限定するクレーム。
クレーム5: クレーム1の化合物を含む医薬組成物に関するクレーム。
・引用文献:US4,287,200(以下、200特許)
チアゾリジンジオン系化合物に関するものであり、一般式における置換基の組み合わせにより「何億もの」化合物を包含する。54個の具体的なチアゾリジンジオン系化合物が開示されている。その中に、ピオグリタゾンと最も関連する化合物、「化合物b」が含まれていた。その中に、対象特許のクレーム1、2および5の化合物が包含される。
US4,444,779(以下、779特許)
200特許からの分割出願であり、化合物bをクレームしている。ただし、化合物の実験データや試験結果については開示していない。
・相違点
ピリジン環の置換基およびその位置。
ピオグリタゾンはピリジン環の5位にエチル基が置換した化合物であるのに対し、化合物bはピリジン環の6位にメチル基が置換した化合物である。

・地裁判断:777特許は無効ではない。
化合物bは望ましくない副作用をもたらすものであることが教示されているから、化合物bをリード化合物として選択する理由が見当たらない。
3. CAFCの判断
・結論:地裁の判断を支持し、777特許は無効ではない。
・根拠
Alphapharm社は、公知の2段階の修飾をすること、すなわち、メチル基をエチル基に置き換えること(同族化:homologation)、次いで、エチル基を6位から5位に移動させること(環移動:ring-walking)によって化合物bからピオグリタゾンを導き出せることから、当業者であれば化合物bをリード化合物として選択すると主張している。
それに対し、CAFCは、200特許および779特許において化合物bの薬効が示されていなかったことや文献T. Sodha et al.(以下、Sodha II)に基づき、化合物bをリード化合物として選択することはないとした。Sodha IIには、101個のチアゾリジンジオン系化合物(化合物bは含まれているが、ピオグリタゾンは含まれていない)についての血糖降下活性および血漿トリグリセリド降下活性に関するデータが開示されており、その中で、化合物bは、副作用(体重および褐色脂肪量の大幅増加)をもたらすことが示されている。
さらに、武田薬品が行った、ピオグリタゾンを含む、50個の化合物について追加の有効性および毒性試験において、ピオグリタゾンが、薬効を有すると同時に、毒性を示さない唯一の化合物であることが示されたことにより(Fujita “Pharmacological and Toxicological Studies of Ciglitazone and Its Analogues.”を参照)、ピオグリタゾンは、その構造から化合物bと同様の性質を有することは予測されるが、毒性を示さないという点から予期せぬ効果をもたらすものであると認定した。
したがって、CAFCは、当業者であれば毒性や副作用をもたらす化合物をリード化合物として選択することはないとして、777特許は有効であるとの地裁の判断を支持した。
以上
Ortho-McNeil Pharmaceutical Inc. vs Mylan Laboratories Inc., et al.
1.判決のポイント
先行技術が提供する出発化合物が有限かつ容易に考察できる数には該当せず、予測できない多数の選択肢から特定の出発化合物を選ぶ明白な理由がない場合、当業者が特許化合物を得ようと試みることは自明とはいえない。
セレンディピティ*が非自明性判断においては重要であり、これを差し引いて自明の判断をすべきではない。
(*Serendipity:探しているものとは別の価値あるものを見つける能力・才能)
2.背景
特許権者:Ortho-McNeil 社
被疑侵害者:Mylan社
対象特許:US4,513,006 出願:1983.9.26、登録:1985.4.23
クレーム1:下式(I)で表されるスルファメート化合物。

(I)
X is oxygen,
R2, R3, R4 and R5 are independently hydrogen or lower alkyl, and
R2 and R3 and/or R4 and R5 together may be a group of the following formula (II):

(II)
wherein …….
クレーム6:クレーム1のスルファメートと担体を含む痙攣治療のための医薬組成物。
クレーム8:クレーム6の医薬組成物を投与する痙攣の治療方法。
上記特許で保護されるてんかん治療薬:Topiramate(トピラマート)

を巡る後発品訴訟において、後発品製造会社のMylan社が特許の無効を主張して争った。
Mylan社はKSR判決における次の最高裁説示を引用:
「デザインの必要性や課題解決のための市場の圧力が存在し、解決方法が予測可能でかつ有限であれば、当業者は自己の技術的知識の範囲において既知の選択肢を当然に追求する理由が存在する。」
当時、糖尿病治療薬の研究を行っていた発明者であれば、酵素阻害剤の設計から容易にトピラマートの構造に到達したであろうと主張した。(Obvious to try:試みることが自明)
これに対し、特許権者のOrtho-McNeil 社は特許化合物の抗痙攣作用は予測できない効果であり、商業的成功も大きい等の反論を展開した。
地裁はMylan社の主張は後付けの理論に過ぎないとして特許発明は非自明であると判断した。(地裁判決はKSR判決前)
3.CAFCの判断
Mylan社の主張:
FBPase(FBPase:フラクトース1,6-ビスホスファターゼ)阻害剤は糖尿病治療薬研究のひとつの標的である。そしてFBPaseの基質はフラクトース1,6-ビスホスフェートであり、基質を化学修飾して阻害剤探索を行うことは常套手段である。
他方、リン酸基をスルファメート基で置換する薬物デザインは既に当業者に知られているので、よく知られたフルクトースのヒドロキシ基保護体DPFを出発原料とし、これをスルファモイル化することで容易にトピラマートに到達できる。
DPF
しかし、CAFCは地裁判断を支持。
根拠:
1)特定の出発化合物、または中間体のトピラマートに至る特定の合成経路を選択する明白な理由がない。
2)糖尿病治療薬を標的とする過程で、中間体の抗けいれん作用を試験する必然性に欠ける。
3)セレンディピティの要素の存在が認められる。
本件発明は非自明と結論した。
BAYER SCHERING PHARMA AG
and BAYER HEALTHCARE PHARAMACEUTICALS, INC.,
v.
BARR LABORTORIES, INC.
(CAFC, August 5, 2009)
1. 判決のポイント
クレームされた化合物は、先行技術によって比較的多数の可能性から限定された、有限かつ容易に踏破される数のオプションからその化合物を得ようと試みることが自明であって、その化合物を得ることの結果が合理的に予測可能であったため、自明であったといえる。
2. 背景
・特許権者:BAYER SCHERING PHARMA AG
利尿作用および抗ニキビ効果を有する経口避妊薬YASMINRを製造する。
・被疑侵害者:BARR LABORTORIES, INC.
YASMINRのジェネリック薬を製造し、市販の認可を得るために(FDA)に申請を行った。
・対象特許:US 6,787,531(以下、’531特許)
公知の有効成分ドロスピレノンを含有する経口避妊薬に関する発明で、ドロスピレノンが腸溶性コーティングされていない微粉化粒子であることを特徴とする。
1. A pharmaceutical composition comprising
from about 2 mg to about 4 mg of micronized drospirenone particles,
about 0.01 mg to about 0.05 mg of 17-alpha-ethinylestradiol, and
one or more pharmaceutical acceptable carries,
the composition being in an oral dose form exposed to the gastric environment upon dissolution, and the composition being effective for oral contraception in a human female.
・引用文献
・De Castro引例(審査過程で、審査官が引用した引例)
難溶性薬物を微粉化してバイオアベイラビリティを向上させること
・Nickish引例(審査過程で、Bayerが反論に用いた引例)
ドロスピレノンを微粉化すると、胃中の強酸への暴露が増大して、異性化を促進すること
・Krause I, II, III(ドロスピレノンおよびスピロレノンの研究に関する刊行物)
ドロスピレノンはスピロレノンの代謝物であること
ドロスピレノンはin vitroで異性化すること
スピロレノンは酸に影響を受けやすいが、in vivoで吸収されること
・Aulton’s Textbook(製薬分野の当業者がin vitro とin vivo 試験の相関をいかに考慮しているかの指針)
in vitro とin vivo 試験の相関が確立されれば、in vitro試験を品質コントロール試験として用いる
・相違点
ドロスピレノンは、in vitroで強酸への暴露により異性化して、YASMINRの商業的成功に導いた利尿作用を喪失する。微粉化したドロスピレノンを腸溶性コーティングなしで用いても、必要なレベルのバイオアベイラビリティが維持されることは確認されていなかった。
・NJ地裁判断:’531特許は無効であり権利行使できない。
3. CAFCの判断
・結論:地裁の判断を支持し、’531特許は無効であり権利行使できない。
・根拠
O’Farrellの「Obvious to Try」の二つの基準によれば、(1)発明者が、先行技術によって限定されていないすべての可能性を試みなければいけなかった場合、発明を試みることは自明とはいえず、(2)先行技術が漠然としていて、発明者に対して、特定の解決方法を指し示していなかった場合、発明を試みることは自明とはいえない。
本発明において、バイオアベイラビリティの向上のために難溶性のドロスピレノンを微粉化することは公知技術であり、(a)スピロレノンに関するKrause研究の結果に基づき、ノーマルピルの形態(コーティングなし)とするか、(b)Nickish引例に基づき、酸から保護するために腸溶性コーティングとするか、の2つの有限数のオプションしかなかった。
本発明は、O’Farrellの「Obvious to Try」の二つの基準のいずれにも該当せず、「試みることが自明」であり、発明自体が自明である。
以上
Sanofi-Synthelabo v. Apotex, Inc.
(Fed. Cir. 2008)
1. 判決のポイント
(1)ラセミ体が引例に開示されている場合において、該ラセミ体から分離された一方エナンチオマーが予想される毒性を示さず、予想外の強い治療効果を示し、かつ、その特性が予期し得ないものであった場合には、該エナンチオマーは自明ではない。
(2)一方異性体が他方異性体に比べて強い治療効果を示すことがラセミ体分離前には予測し得ず、かつ、当業者が合理的な成功の期待を有さなかった場合には、たとえ選択肢が少数であっても、”obvious to try”(自明な試み)とは言えない。
2. 背景
(1)特許権者:Sanofi社
(2)被疑侵害者:Apotex, Inc.社、Apotex Corp.社
(3)本件特許:US4,847,265(以下、265特許)
・クレーム3:アルファ-5(4,5,6,7-テトラヒドロ(3,2-c)チエノピリジル)(2-クロロフェニル)酢酸メチルの左旋性異性体から実質的に分離された右旋性異性体の硫酸水素塩。
・一般名:クロピドグレル硫酸水素塩(プラビックスR)
・作用:血小板凝集阻害活性

(4)引用発明:US4,529,596(以下、596特許)および対応CA1,194,875(以下、875特許)
・クレーム2:α-(4,5,6,7-テトラヒドロ-チエノ(3,2-c)-5-ピリジル)-o.クロロフェニル酢酸メチル。

(5)相違点
本件特許は、右旋性エナンチオマーの硫酸水素塩であるが、引用発明には当該エナンチオマーのラセミ体がクレームされ、実施例としてその塩酸塩が記載されている。
(6)地裁判断:265特許は有効であり、権利行使可能である。
3. CAFCの判断
(1)結論:地裁の判断を支持し、265特許は有効であり、権利行使可能である。
(2)根拠
ア 新規性(ANTICIPATION)
以下の判例に基づき新規性ありとした地裁の判断を支持した:
A 新規性に基づく無効は、クレームのすべての構成要件および限定が当業者にとって明示的に(expressly)または自明的に(inherently)単一の先行文献に記載されていることを要する(Schering Corp. v. Geneva Pharms., Inc., 339 F.3d 1373, 1379 (Fed. Cir. 2003)参照)。
B 新規性を否定する引例は、実施可能であること(enabling)が必要である(すなわち、当業者が過度の実験をすることなく、引例に基づき主題を実施することができるように記載されている)(Amgen Inc. v. Hoechst Marion Roussel, Inc., 457 F.3d 1293, 1306-07 (Fed. Cir. 2006)参照)。
イ 自明性(OBVIOUSNESS)
以下の理由により自明でないとした地裁の判断を支持した:
・右旋性エナンチオマー(一方異性体)が、ラセミ体が示したすべての抗血小板活性を有し、神経毒性副作用を全く有さないことについて、当業者は合理的に予測できなかった。
・エナンチオマーの分離およびジアステレオマー塩形成について、試行錯誤の実例(paradigm of trial and error)、後知恵先入観(hindsight bias)および事後的論拠(ex post reasoning)による自明性の決定は不適切である。
・ラセミ体からエナンチオマーを分離し、二次的にその右旋性エナンチオマーの硫酸水素塩として製造することが自明な試み(obvious to try)であるか否かについて、得られた化合物が抗血小板凝集活性において最大増大効果を示し、神経毒性を示さない場合には、広範な起こりうる成果および相対的な不可能性によりクロピドグレル硫酸水素塩は非自明である。
・「既知の方法による公知の構成要素の組合せ(combination of familiar elements)は予測可能な結果を生み出すにすぎない場合には自明である」(KSR v. Teleflex)との最高裁の判断について、本件におけるエナンチオマーのラセミ体からの分離による結果が予測不可能であるから、このKSRの原理は本件の結果に影響しない。
・当業者は、エナンチオマーの分離により、所望の抗血小板活性と所望でない神経毒性の両方について絶対立体選択性を有する異性体が生成しうることを先行技術から予測できなかった。
以上
ROLLS-ROYCE, PLC. v. UNITED TECHNOLOGIES CORP.
(CAFC, May 5, 2010)
1. 判決のポイント
「試すことが自明(Obvious to Try)」の主張は、課題の解決として考えられる手法(選択肢)が、公知かつ有限である場合に適用される。
2. 背景

・特許権者:Rolls-Royce社
・対象特許:US6,071,077(以下、077特許)
Rolls-Royce社の077特許はジェットエンジンのファンブレードに関する。
077特許は、ブレードの形状(特にleading edgeに付けたスイープ)
に特徴を持たせたもの。具体的には、ハブ4側から外側に向けてブレードのleading edgeのスイープ(sweep)を「forward-reward-forward」としたこと。
特にブレード末端部のスイープ角度を”forward”にしたことに特徴あり。
・引用文献:US Application No.09/874,931(以下、931出願)
先行技術となるUnited Technologies 社の931出願では、ハブ(中央部)から外側へと沿ってブレードのleading edgeのスイープを「forward-reward-reward」としたものが開示されていた。つまり、ブレード末端のスイープ角度は”reward”であった。
・地裁判断:077特許は有効。077特許のクレームは、United社の先行技術から自明とはいえない。
3. CAFCの判断
・結論:地裁の判断を支持し、077特許は有効。
・根拠:「当業者がブレード末端部のスイープ角度を”forward”へと変更しようとすること」について、それを裏付ける事項は先行技術に開示されていない。また、設計上の制約や市場の要請または他の動機となるものもないので、当業者が敢えてブレード末端部のスイープ角度を変更して077特許のブレード形状を得ようとは思わない。当業者にとっては、”スイープ角度”(特にブレード末端部のスイープ角度)は、多くの種々の検討事項のうちの1つにしか過ぎない。
⇒ 「試すことが自明(Obvious to Try)」の主張は、あくまでも、課題の解決として考えられる手法(選択肢)が、公知かつ有限である場合に適用されるものである。
以上
Perfect Web Technologies, Inc., v. InfoUSA (2009-1105)
(CAFC December 2, 2009)
1.判決のポイント
有限の特定された予測可能な解決策が存在しており且つ予期せぬ結果が得られることを示す証拠が無い場合、自明の試みであるという理由に自明であると法的に結論付けることができる。
常識であることが十分な理由付け(sufficient reasoning)をもって説明される限り、自明性を裏付けるために常識であることを用いることができる。
2.背景
・控訴人(特許権者): Perfect Web Technologies
・被控訴人(被疑者): InfoUSA
・対象特許:US Patent No. 6,631,400 (大量の電子メールの配信を管理する方法)
・本件発明
本件特許は、インターネットを通じて大量の電子メール(オプトインメール*1)を顧客に配信する方法に関する。この方法を管理するシステムは、大量の電子メールを送信するウェブサーバ2、インターネット4、本システムのクライアントであるマーケット担当者1(Marketeer A, B, C:5,6,7)、システムを通じて電子メールを受信する対象受信者(Target Recipients A, B, C:8,9,10)からなる。

対象受信者は、特定のグループに属している。例えば、自転車、映画、政治に興味のある対象受信者はそれぞれグループA8、B9,C10に分けられている。例えば、自転車に興味のある対象受信者Aにマーケティング情報を提供する場合、マーケティング担当者A、B、又はCは目標とする受信者のプロファイルをサーバ2に登録する。サーバ2は、登録情報を用いてマーケティング情報に対応した配信先(電子メール受信者)を特定し、そのマーケティング情報を特定した受信者に送信する。しかし、送信した電子メールがすべて受信者に受信されて開封されるとは限らない。そこで、サーバは、不達の電子メールを特定するとともに、対象受信者に受信されて開封された成功メールの数を求め、所望量の成功メールが得られない場合、新たな送信データ(受信者データ)を作成し、その対象受信者に電子メールを送信する。
*オプトインメール(opt-in)
例えば、ソフトウェアのユーザ登録の際に「ダイレクトメールの受け取りを了承する」といった内容の選択肢を用意し、これを能動的に選んで登録したユーザにのみダイレクトメールを送付する場合、このメールを”承諾を得たメール”という意味で「オプトインメール」という。
IT用語辞典http://e-words.jp/w/E382AAE38397E38388E382A4E383B3.html
・クレーム1
問題となった本件特許のクレーム1は以下のとおりである。
1.大量の電子メールの配信を管理する方法であって、以下のステップを含む;
(A)対象受信者プロフィールを対象受信者のグループにマッチングさせ、
(B)上記マッチンググループの上記対象受信者に大量の電子メールを送信し、
(C)上記対象受信者に無事に受信された上記大量の電子メールにおける上記電子メールの数を計算し、
(D)上記計算された数が無事受信された電子メールの予め決められた最小数を超えない場合、上記計算された数が上記予め決められた最小数を超えるまでステップ(A)-(C)を繰り返す。
・地裁(フロリダ州南部地裁)の判断
地裁は、本件特許は電子メールを使ったマーケティングに関するもので、その分野の当業者は少なくとも高卒以上の学歴・1年以上の経験・コンピュータと電子メールプログラムに熟練した能力を有し、クレーム1のステップA~Cが公知であることは先行技術と本願明細書に示されているから、進歩性判断のポイントは電子メールを使ったマーケッティングの分野における当業者がステップA~Cを繰り返し行うことによって所定量の電子メールを潜在顧客に配信する点(最終ステップD)は、「何度も何度も試される(try, try again)」常識的に行われること(logical result of common sense application)であると認定した。
3.CAFCの判断
(1)争点
ステップDは、
・常識(common sense)から導かれることか、
・自明の試みに過ぎないか(obvious to try)、
・長く望んで達成されなかったことであるか(long-felt need)。
(2)争点に対する判断
A.常識(common sense)
自明性の判断は証拠に基づくものであるが、その判断は当業者が用いる論理・判断・常識を頼りとするものであってもよく、必ずしも文献や専門家意見による説明を必要とするものではない。
B.自明の試み(obvious to try)
本件特許方法は自明の試みであったことを示す幾つかの解決策が存在しており、それらの解決策を試みることによって期待の効果が得られるのであれば、それは新しいアイデアを創出するものでなく、通常の技能や常識である。
C.長く望んで達成されなかったこと(long-felt need)
控訴人の主張は、証拠によって十分に支持されたものでない。
(3)裁判所の意見
A.常識(common sense)
① 適用にあたって必要なもの
審査官が当業者の常識(common knowledge, common sense)に基づいて発明が自明であると認定することは許される(In re Bozek)が、常識は事実に代わるものでなく(In re Lee)、証拠に基づくことなく”常識である”としてはならない(In re Zurko)。つまり、裁判所は、引例を組み合わせることの理由付けをPTOに要求するが、その際に”常識”の適用を排除するものではない。また、”常識”の適用にあたって、特定の文献に何らかのヒントや示唆が存在することを要求するものではなく、筋の通った説明(reasoned explanation)があればよい。(Dystar Textifarben GmbH v. Patrick Co.)
② 情報源
KSR最高裁は、発明主題に関連した的確な開示を探す必要はないと述べるとともに、先行技術と自明性の繋ぐ様々な情報源に頼ることができ、組み合わせることの示唆等は、1)先行技術文献自体に、2)当業者の知識に、または、3)解決すべき課題の性質から、明示的に又は黙示的に認定され得るとし、柔軟な自明性判断(flexible obviousness inquiry)の情報源を”市場動向(market force)”、”設計上のインセンティブ(design incentives)”、”複数の特許の相互に関連する教示(interrelated teachings of multiple patents)”、”発明時に当業者に知られており且つ特許によって解決された必要性又は問題(any need or problem known in the field of endeavor at the time of invention and addressed by the patent)”、背景技術・創造力・当業者の常識まで拡大した。なお、特許事件の多くの場合、専門家証言が無くても技術は容易に理解できるので、専門家の意見は必ずしも必要ではない。
③ 本件に対する判断
地裁の判断は、ステップDはその前のステップを繰り返すだけのものであって、マーケティング担当者が必要に応じてそれらのステップを繰り返す常識的なものであるとの理由に基づくものであり、地裁はそのことを十分に説明している。具体的に、クレーム1のステップA~Cは、複数のグループの受信者に狙いを定め、それらの受信者に電子メールを送り、首尾よく配信された電子メールの数を計算するものである。(原告Perfect Webは、引用文献にはこれら3つのステップが開示されていることを認めている。)残るステップDは、計算した数が予め決められた最小値を超えるまでステップA~Cを繰り返すものである。したがって、発明(最後のステップ)は、成功するまで既知の手順を繰り返すだけのものである。この点を考慮したうえで、地裁は、「仮に100件の電子メールが注文され、最初の送信で95の電子メールが成功した場合、再び同じことを試みるのが常識的なことで、その他のことはまず行わないであろう。」と説明している。また、関連技術が込み入った内容であれば裁判所は専門家の意見を取り入れるべきであるが、関連する当業者は高卒程度でマーケティングとコンピュータの経験があればよいことを当事者双方が認めていることからして、ステップA~Cを繰り返すことの潜在的価値を評価するために専門家証言は不要である。実際、被控訴人(InfoUSA)から提出された専門家(Reggie Brady: 電子メールカーティングの権威、John Lawlor:広告・マーケティング業界)は、クレーム1は常識から考えて自明のことであるとした地裁の結論を完全に支持するものであった。これらの専門家意見に対し、控訴人(Perfect Web)は独自の専門家(Dr. Sandeep Krishnamurthy:マーケティングと電子商取引の教授)の宣言書を提出したが、そこでの意見は本件の問題に直接関連するものでなかった。また、Krishnamurthyは、供述書の中で、最初の配信で成功メールが所望の数に達しなかった場合、唯一残った手段は”やめる”か、”更なるメールアドレスを探すか”のいずれかであると述べており、地裁はその点を適正に確認している。さらに、Krishnamurthyは、更に多くの電子メールアドレスを見つけるには”多くの手法”があると証言しているが、それはステップAにのみ関連するものである。したがって、専門家証言は、先行技術に開示された従来の方法(すなわち、ステップDで要求されている、ステップA~Cを1回を超える回数だけ繰り返すこと)を実行することが”当業者が採用するであろう推測・工夫の一つである”とした地裁の結論の妥当性に何ら疑問を投げかけるものでない。
B. 自明の試み (obvious to try)
3人の専門家(Krishnamurthy、Brady、Lawlor)は、所定のノルマ(所定数の成功電子メール)を達成するための解決策(a)~(c)を示した。
(a)過剰な数の電子メールを送信する(ノルマを達成するために、過剰な数のアドレスに対して電子メールを送信する);
(b)送信した電子メールのうちの幾つかのアドレスが間違いか又は不達通知が帰ってきた場合、再び送信したときに成功することが有り得るので、同じアドレスに電子メールを再度送信する;
(c)新たなグループのアドレスを特定してそれらのアドレスにメッセージを送信する。(本件特許のステップDである。)
説明するまでもなく、新たなアドレスにメッセージを送信することのほうが、過去に失敗したアドレスにメッセージを再度送信するよりも成功率が高いことは明らかである。また、控訴人は、特許方法によって予想もしない結果が得られるという証拠や、特許方法が当然に予測され得ることでないという証拠を示しておらず、ステップDによって得られる結果はより多くのメッセージがより多くの受信者に届けられるという程度のものである。したがって、自明の試みであったことを示す幾つかの解決策が存在しており、それらの解決策を試みることによって期待の効果が得られるのであれば、それは新しいアイデアを創出するものでなく、通常の技能や常識である。一方、先行技術が、クレームに係る特定の形態の発明について又はそれを達成する方法について単に一般的な助言(guidance)を提示するだけである場合において、当業者がすべてのパラメータを変化させたり、数多くの可能性(possible choices)を試したり、または新たな技術又は一般的な手法を調査研究する必要があったことを示す証拠が無ければ、発明はそれを試みることが自明であったといえる。
C.長く望んで達成されなかったこと(long-felt need)
発明が、”特許出願時に存在していた、長く望まれながらも達成されていなかった要求(a long-felt and unmet need)”を満足するものであるという証拠は、二次的考慮事項である。
控訴人は、本件特許は、効率的な大量電子メールシステムにとって長く望まれながらも達成されていなかった要求を解決するものであると主張する。また、控訴人の専門家Krishnamurthyは、2000年4月以前のシステムに纏わる2つの問題(マーケティング担当者は無料で過剰な電子メールメッセージを送信しなければならなかった、あまりに多くの不要なメッセージを受信するはめになるので顧客のシステム離れを招く)を指摘した。この点について、被控訴人の専門家Bradyも、過剰な電子メールの送信は金の無駄遣いで利用可能なアドレスリストを焼き尽くすことになる、と述べている。
確かに、過剰な電子メールを送信することに起因する問題に関する控訴人の主張は妥当なものであるが、控訴人はそれらの問題が、特許によって緩和された、長く望まれながらも達成されていなかった要求を構成するものであることを示さなかった。つまり、控訴人は、どれだけの期間にわたってそのような必要性が望まれていたか、すなわち何時そのような問題が初めて発生したのか、といったことを説明する証拠を提出しなかったし、本件特許がそのような要求を満足するものであるという証拠も示していない。控訴人の専門家Krishnamurthyは、特許によって効率が良くなることを主張するのみで、例えば発明によって実際にマーケティングのコスト・時間を減少し、顧客のシステム離れの数を減少したことを示すサポートデータを挙げていない。
PharmaStem Therapeutics, Inc. v. Viacell, Inc.
(CAFC, July 9, 2007)
1. 判決のポイント
自明性の分析において全ての証拠が考慮されなければならないとしても、非自明性の証拠よりも、記録にある矛盾証拠または明細書の開示がより重視され得る。成功の合理的期待は自明性の事由をサポートするためには必要であるが、絶対的な予測可能性は必要とされない。
2. 背景
・特許権者:PharmaStem Therapeutics社(旧Biocyte社)
・被疑侵害者:Viacell社
・対象特許:US5,004,681(以下、’681特許)
US5,192,553(’681特許のCIP出願にかかる特許。以下、’553特許)
ヒトの臍帯血または胎盤血に由来する造血幹細胞ならびにその造血再構成のための使用に関する特許である。
(1) ‘681特許について、判断されたクレーム
クレーム1. 1人のヒトの出生児に採取した当該ヒトの臍帯血または胎盤血に由来する生存可能なヒト新生児または胎児造血幹細胞と、当該細胞の凍結保存に十分な量の凍結保存剤を含んでなる凍結保存された治療用組成物であって、前記細胞がヒト成人の造血再構成に作用するのに十分な量で存在する、組成物。
(2) ‘553特許について、判断されたクレーム
クレーム13. ヒトの造血または免疫再構成方法であって、次の段階:
(a)造血幹細胞を含むヒト新生児または胎児血液成分を単離する;
(b)該血液成分を凍結保存する;
(c)該血液成分を解凍する;そして
(d)前記造血幹細胞が生存可能であり、そして宿主において増殖可能なように、好適なヒト宿主に前記血液成分を導入する;
を含む方法。
・引用文献
(1) Ende and Knudtzon: 臍帯血を用いて造血再構成を行うことが示唆されている。
(2) KoikeおよびVidal: 臍帯血の凍結保存が示唆されている。
・相違点
・TMSテストに従っても、特に進歩性を肯定する根拠はない。むしろ問題は、これらの文献の開示は単なる示唆に過ぎず、当業者に成功の合理的な予測可能性があったのかという点にある。
・地裁判断:PharmaStem社が提出したBernsteinの宣誓証書(testimony)により、本件発明が成功するという合理的な予測可能性が否定されたので、’681特許および’553特許は有効であり、Viacell社はこれらの特許を侵害する。
3. CAFCの判断
・結論:地裁の判断を覆し、’681特許および’553特許は無効であり権利行使できない。
・根拠
・引用文献より、臍帯血中に造血幹細胞またはその前駆体が存在する可能性は、合理的に認識できる。
・この認識に対する反対意見としてBernsteinの宣誓証書が提出されているが、この認識は、引用文献のみならず、本件特許明細書の背景技術「前駆細胞生成能を有するヒト造血コロニー形成細胞は、ヒト臍帯血液において同定されている(Nakahata,T.and Ogawa,M.,1982,J.Clin,Invest.70:1324-1328)。加えて、造血幹細胞は、ヒト臍帯血液において、コロニー形成によって、成人で見い出されるよりも高いレベルで生ずることが示されている(Prindull,G.,et al.,1978,Acta Paediatr.Scand.67:413-416;Knudtzon,S., 1974, Blood 43(3):357-361)。」から、合理的に予測可能である。
・したがって宣誓証書は、明細書の記載および引用文献の記載から、本件特許の進歩性を肯定するに足りる内容ではない。
以上
In re Sullivan
(CAFC, August 29, 2007)
1. 判決のポイント
正当に提示された全ての証拠(「一応自明」に対する反証を含む)は、考慮されなければならない。
2. 背景
・上訴人(出願人): John B Sullivan、Findlay E. Russell
・対象出願:出願番号08/405,454(以下、本願)
・係争クレーム(補正後クレーム40):
クロタラス属のヘビ毒に特異的に結合し、抗Fc抗体を用いる免疫電気泳動法による測定により本質的にFcが混入していないFab断片を含む被咬傷者の治療のための抗毒血清医薬組成物、および医薬的に許容される担体であって、該抗毒血清医薬組成物がクロタラス属のヘビ毒の致死性を中和するものである、抗毒血清医薬組成物。
・引例:
①J.B Sullivanら、”Isolation and Purification of Antibodies to Rattlesnake Venom by Affinity Chromatography”, Proc. W. Pharmacology Soc., 25, 185-92 (1982):(本願発明の全抗体の分離方法が記載されている。)
②Alan Coulterら、”Simplified Preparation of Rabbit Fab Fragment”, J. Immunological Methods, 59, 199-203 (1983):(Fab断片を使用した、テクスチロトキシン(オーストラリアブラウンスネークの毒)の酵素免疫測定法(EIAs)が記載されている。)
・出願人の主な主張:
全抗体およびF(ab)2断片の使用は知られているが、Fab断片が抗毒血清として有効であり、副作用の少ないことは非自明である。審査段階で、当業者がFab断片に至らない旨のデクラレーションを3件提出。
・審判部の判断:
当業者には、クロタラス属のヘビ毒をEIAsで測定する際に本願発明のFab断片を作製する動機付けがあり、本願は「一応自明」である。補正により使用用途の記載と機能の限定を行っているが、私用用途の記載は特許性をもたらすものではない。デクラレーションは使用用途に関するもののみであり、自明な組成物の新規用途には特許性はない。機能の限定についても、引例②に全抗体とFab断片で同程度の中和能を示すことが記載されている。
3. CAFCの判断
・結論:審判部の判断には瑕疵があるとして、決定を無効とし、差し戻した。
・根拠:審判部が、デクラレーションの内容を、使用用途に関するもののみであるとして無視することは許されない。本件のデクラレーションは「一応自明」の指摘に対する正当な反証であり、使用用途に関する主張に限られず、本願発明の予期できない特性を示すものである。そして、この予期できない特性についての主張を無視することは許されない。審判部はデクラレーションの内容を考慮した上で判断しなければならない。
以上
Hearing Components, Inc. v. Shrue, Inc.
(CAFC, April 1, 2010)
1.判決のポイント(Teaching Point)
時宜にかなった方法で適切に提出された証拠は、考慮し、記録に残さなければならない。
商業的成功の証拠は、製品の成功とクレームされた発明との間の関連性(結びつき)が示されている場合には、適切なものである。
2.背景
・特許権者:Hearing Components, Inc.
・被疑侵害者:Shrue, Inc.
・対象特許
①米国5,401,920特許(以下「’920特許」とも呼ぶ)
[クレーム1]
音伝達デバイスと組み合わせて用いられるための使い捨て可能な耳垢保護部材であり、
当該音伝達デバイスが、ハウジングが音出口を有する音響管を含み、当該デバイスが使用者の外耳道内に取り付けられたときに、音出口が鼓膜に向き合うタイプのものであり、
当該使い捨て可能な耳垢保護部材は、音出口の上に取り付けて、耳垢が当該音出口を汚すのを防止するためのものであり、
当該使い捨て可能な耳垢保護部材は、使用者によって、当該音出口に容易に取り付けられ、かつ取り替えられるものであり、
当該使い捨て可能な耳垢保護部材は、使用者が、当該保護部材を当該音出口の上に位置させることを可能にする、薄い可撓性の膜を含み、
当該膜の一方の側には、当該音出口に重なるようにされた部分を除いて、通常、粘着性で感圧性の層が設けられており、
当該音出口と重なる部分の当該保護部材の部分が、音に対して多孔性であり、耳垢を取り込むことができるものである、
耳垢保護部材(※下線は付加)。
②米国5,002,151特許(以下「’151特許」とも呼ぶ)
[クレーム1]
使用者が使い捨て可能なスリーブとともに用いる耳栓部品であって、ダクトおよびダクトに固定された軟質の重合発泡体を有し、使用者の耳外道への音の伝達を促進するための耳栓部品であって、接続部分およびフランジ部分を含み、
当該接続部分が
(i)遠位端および近位端ならびに当該遠位端と近位端との間の外側表面、
(ⅱ)当該遠位端と当該近位端との間で、当該接続部材中に延びる音響管、ならびに
(ⅲ)当該外側表面に位置する、スリーブのダクトを当該接続部分に使い捨て可能なように取り付けるための手段
を有し、
当該フランジ部分が近位端に取り付けられている、
を含む、耳栓部品。
③米国4,880,076特許(以下「’076特許」とも呼ぶ)
前記’151特許の耳栓部品を含む補聴器をクレームしている。
・地裁における判断
1)被疑侵害者の製品(2種類)のうち、1種類は、’151特許および’076特許を侵害し、もう1種類は侵害していない。
2)’920特許のクレーム1には記載不備があり、クレーム解釈ができない。
3)’151特許および’076特許のクレーム1は非自明性を有する。(※2010KSRガイドラインと関連する判断事項)
4)特許権者が被疑侵害者の侵害を知ってから約6年後に訴訟を提起したことはラッチェスにはあたらない。
3.CAFCの判断
・上記3)について
2010 KSRガイドラインと関係するのは、上記のうち3)に関するCAFCの判断である。そこで、ここでは最初に、自明性に関するCAFCの判断について説明する。
CAFCは、被疑侵害者による、文献の組み合わせにより自明であるという主張を退けるとともに、特許権者が提出した二次的考察に関する証拠を採用して、’151特許および’076特許は非自明であると判断した。
被疑侵害者が引用文献として提出した書類およびそれに記載されている発明の概要は次のとおりである。
①米国2,325,590特許(以下、「Carlisle」とも呼ぶ)
聴覚を喪失した人が使用するタイプの小型のイヤホンに関する発明を開示している。具体的な構成は、下記図13に示すとおりである。図13においては、符号74で示される成形ダクトが外耳道の入り口付近に到達している状態が示されている。また、図14においては、出口ダクト73と成形ダクト74との関係が示されている。


②再審査特許29,847(以下、「Gardner」とも呼ぶ)
外耳道に挿入される耳栓であって、特定の回復率を有する発泡体から成る耳栓を開示している。
③米国特許4,677,679(以下、「Killion」とも呼ぶ)
聴覚検査に用いるためのイヤホンに関する発明を開示し、低回復性発泡体からなる耳栓をPVCからなるチューブに取り付けて用いてよいことを説明している。その耳栓は、外科的なオペレーティングルームにおいて、使い捨てられ、チューブが殺菌されて再利用される。
④米国特許4,122,841(以下、「Rock」とも呼ぶ)
難聴または他の疾病の臨床評価に関連するテストで用いられる、プローブチップに関する発明を開示し、プローブチップは、プローブと外耳道との間で、気密性のシールを形成する。当該特許には、プローブチップを、軟質の弾性材料、例えば、ラテックス、シリコンまたはプラスチック樹脂で構成してよいことが記載されている。
被疑侵害者は、これらの4つの文献のうち、(1)CarlisleとGardner、(2)CarlisleとKillion、(3)KillionとRockの3通りの組み合わせに基づいて、’151特許と’076特許が自明であると主張した。
これに対し、特許権者は、当業者がこれらの文献を組み合わせることはないという専門家の証言を反証とし、かつ、自明性の判断にあたり利用できる二次的考察として、特許権が消滅した後にライセンス料が半分よりも安くなったことを示す証拠を提出した。
CAFCは、特許権者の主張を全面的に認めた。文献の組み合わせに関しては、CAFCは、特許権者側の専門家が、
・Carlisleに記載されたイヤホンにおいて、耳栓は外耳道に配置されるものではなく、成型ダクトが外耳道に入るにすぎず、出口ダクト73が成型ダクト74にまで延びておらず、外耳道内に配置されていない、
・Carlisle のデバイスが発明された1940年代において、出口ダクトを含む耳栓を外耳道に配置する理由はなかった。そのような耳栓は常套的ではなかった、
と証言したことを重視し、Carlisleを主文献として、自明性の判断をすることはできないと判断した。さらに、CAFCは、特許権者側の専門家が、Killionは、臨床検査のために、耳鼻科の医者が用いるものであって、使用者がスリーブを取り替えることを示すものではないと証言したことにも着目し、これとRockの組み合わせも自明でないと判断した。
なお、CAFCは、被疑侵害者側の専門家の証言を、「貧弱で詳細に欠ける」として、一蹴している。
また、CAFCは、二次的考察に関する証拠について、被疑侵害者が、特許権者は、「二次的考察の証拠に、自明性の決定において、実質的な重み(重要性)を与えるためには、クレームされた発明の功績(merits)と二次的考察の証拠との間の関連性」を示さなければならないと主張したことについて、特許権者は、クレームされた発明をカバーする製品のライセンス料が、’151特許の消滅により、半分よりも少なくなったということを示しており、これは、デバイスの成功が特許と関連していることを支持していると判断した。
・その他の争点について
①上記1)について
地裁が非侵害と判断した製品についても、侵害を認めた。
②上記2)について
‘920特許のクレーム1において記載不備はないと判断した。問題となった記載は、「当該音出口に容易に取り付けられ、かつ取り替えられるものであり、」の部分であった。CAFCは、上記記載のさらなる解釈が必要であるかについては、地裁の裁量にゆだねるが、この部分の記載を、「素人である利用者が、耳垢保護部材を、道具を使うことなく、取り付けられる」という意味でとらえたときと、「専門家が道具を使う必要がある」という意味でとらえたときとの違いが、不明瞭であるという判決を覆すのに必要であると判示した。すなわち、CAFCは、前記記載の意味を、利用者が耳垢保護部材を特別な道具を使用することなく取り付けられることであると説示している。
③上記4)について
CAFCは、提訴の遅れに基づいて、被疑侵害者の経済的な立場に何らの変化も生じさせなかったことを、特許権者が証明したと判断し、ラッチェスはないと判断した。
4.CAFC判決に関する2010KSRガイドラインの説示事項
審査官に、証拠の重み付けに関する事項について注意を喚起しており、時宜に適った方法で、審査段階で提出された証拠を無視してはならず、考慮して記録に残すべきであると説示している。
さらに、
・すべての証拠に同じ重みを与える必要はない。
・反証の相対的な重み(重要性)を決定する際に、
-関連性がクレームされた発明と証拠との間に存在するかどうか、
-証拠が、クレームされた発明の範囲に相応しているかどうか
を考慮することは適当である。
・より信頼性のある証拠が単に存在するということだけで、自明性の拒絶を常に取り下げなければならないということではない。
・自明性の拒絶は、自明であるという証拠が、非自明の証拠よりも重要である(より重みを有する)ときにのみ維持すべきである。
という説示を与えている。
以上
Asyst Techs., Inc. v. Emtrak, Inc.
(CAFC, October 10, 2008)
1. 判決のポイント
商業的成功(commercial success)や長年の要望(long-felt need)などの自明性に対する二次的考慮事項(secondary considerations)の証拠を提示しても、一応の自明性(a prima facie case of obviousness)が強力であるときは、一応の自明性を克服するのに不十分であり得る。非自明性を商業的成功や長年の要望に基づいて主張しても、かかる商業的成功や長年の要望を、先行技術から区別するクレームの特徴点と関係づける(link)ことができなければ、当該主張は弱いものとなる。
2. 背景
・特許権者:Asyst Technologies, Inc.
・被疑侵害者:Emtrak, Inc., Jenoptick AG, Jenoptic Infab, Inc., Meissner + Wurst GmbH
・対象特許:USP 5,097,421(以下、本件)
本件発明は、製造施設内で1つの処理ステーションから次の処理ステーションへと移動するシリコンウェーハなどの物品を追跡(トラッキング)するための処理システムに関し、係争独立クレーム2(以下、本件クレーム)では下記の通り「在庫管理システム」として規定されている。
2.在庫管理システム(inventory management system)であって、
(1)物品を移送するための少なくとも1つの移送可能コンテナであって、該コンテナに取り付けられた(a)・・・、(b)・・・、および(c)・・・を含む、少なくとも1つの移送可能コンテナ;
(2)該少なくとも1つの移送可能コンテナの存在を感知するための・・・複数の各感知手段:
(3)該複数の各感知手段のうちから選択するための選択手段;
(4)該複数の各感知手段・・・からデジタル情報を受信し、および該複数の各感知手段・・・にデジタル情報を提供するために、該選択手段に接続された中央処理手段
を含む、システム。
・引用文献:USP 4,588,880(以下、Hesser)
・製造ライン上で搬送される部品の情報(コード)を非接触式で認識するためのシステムであり、その部品の情報を部品と一緒に搬送し、認識および更新するように構成される。このシステムにおいて、データ書込/読取ステーション等の各ステーションはバスラインを通じて制御ユニットに接続される。
・相違点
・本件クレーム発明では、中央処理手段と接続される「選択手段」としてマルチプレクサを用いるのに対し、Hesserは、制御ユニットに接続されたバスを用いる。
・地裁判断:トライアルで、陪審は、本件クレーム発明は有効であるとし、特許権侵害を認定したが、この陪審判断は、Hesserは本件発明に関連する先行技術ではないとの判断によるものであった。地裁は、陪審判断を覆し、本件クレーム発明はHesserから自明のため無効とのJMOL(※陪審評決と異なる判決)を下した。
3. CAFCの判断
・結論:地裁判断を支持し、本件クレーム発明はHesserから自明のため無効とした。
・根拠
・CAFCは、まず、Hesserが本件発明に関連する先行技術であることは、その技術内容およびAsyst社の専門家証言(自認)から明らかであり、この点についての陪審判断は誤りであったと述べた。
・次に、CAFCは、本件クレーム発明とHesserとの間の唯一の重要(material)な相違点として、Hesserが処理ステーションと制御ユニットとの間の通信接続にバスを用いることを開示しているのに対し、本件特許はそのような通信接続を、特定の通信接続を選択的に処理ユニットへ伝送するマルチプレクサを用いて実施している点を認定した。Asyst社は、バスにはマルチプレクサのような「選択」機能がないと主張したが、CAFCは、当業者はマルチプレクサをよく知っていたことを専門家証言等から認定した上で、バスをマルチプレクサで置換することは「公知のある要素を別の要素で単に置換したもの(the simple substitution of one element for another)」(KSR判決)に過ぎないとのJenoptik社の主張に同意した。また、CAFCは、Jenoptik社が提出していた証拠に基づいて、当業者はマルチプレクサとバスのどちらを用いるか、それらについて既に知られた利点を考慮して選択できたであろうことを認定した。更に、Asyst社は、マルチプレクサを用いることによってバッテリの長寿命化という予期せぬ効果(unexpected result)が得られると主張したが、CAFCは、かかる効果はマルチプレクサについて既に知られた効果であり、これによって本件クレーム発明が非自明になるものではないと判断した。
・また、Asyst社は、陪審が非自明性-商業的成功(commercial success)、長年の要望(long-felt need)および産業的賞賛(industry praise)-に関する客観的情況証拠を認めたのに対し、地裁はこの認定を考慮していないと主張した。この点につき、地裁では、Asyst社は客観的情況証拠をクレーム発明と関係づける(link)ことに失敗しており、Asyst社の主張は「(その商業的態様のうち)Hesserに開示されていない部分との関連性(nexus)に欠ける」と判断されていた。CAFCは、先のCAFC判決を引用して「非自明性の客観的証拠は、その証拠が支持するクレームの範囲と釣り合っていなければならない」と述べた上で、「Asyst社は、商業的成功を、同社の発明のうちHesserに開示されていない特徴と関係づける(link)のに失敗しているため、証拠の証明力は弱いものとなる」とした。また、CAFCは、本件発明が長年の要望に応えたとする証拠および産業的賞賛を受けたとする証拠に基づくAsyst社の主張にも同じ欠陥があると指摘した。CAFCは、「その証拠が、システム全体が要望を解決したものとして賞賛を受けたことを示していたとしても、この成功が、・・・バスをマルチプレクサ(これはHesserと特許発明との間の唯一の重要な相違点であった)で置換したことに起因するものであることを示す証拠はない」と述べた。更に、CAFCは、KSR判決以前のCAFC判決を引用して「我々がしばしば判示してきたように、二次的考慮事項の証拠は、強力な一応の自明を必ずしも克服するものではない」と繰り返し判示し、本件における二次的考慮事項の証拠は、バスの代わりにマルチプレクサを既知の動作態様で用いて置換したものであるという強力な自明性を克服するものではないと判断した。
以上